GM Service Manual Online
For 1990-2009 cars only
Makes
🢒
Generic
🢒
2002
🢒
Unit Repair
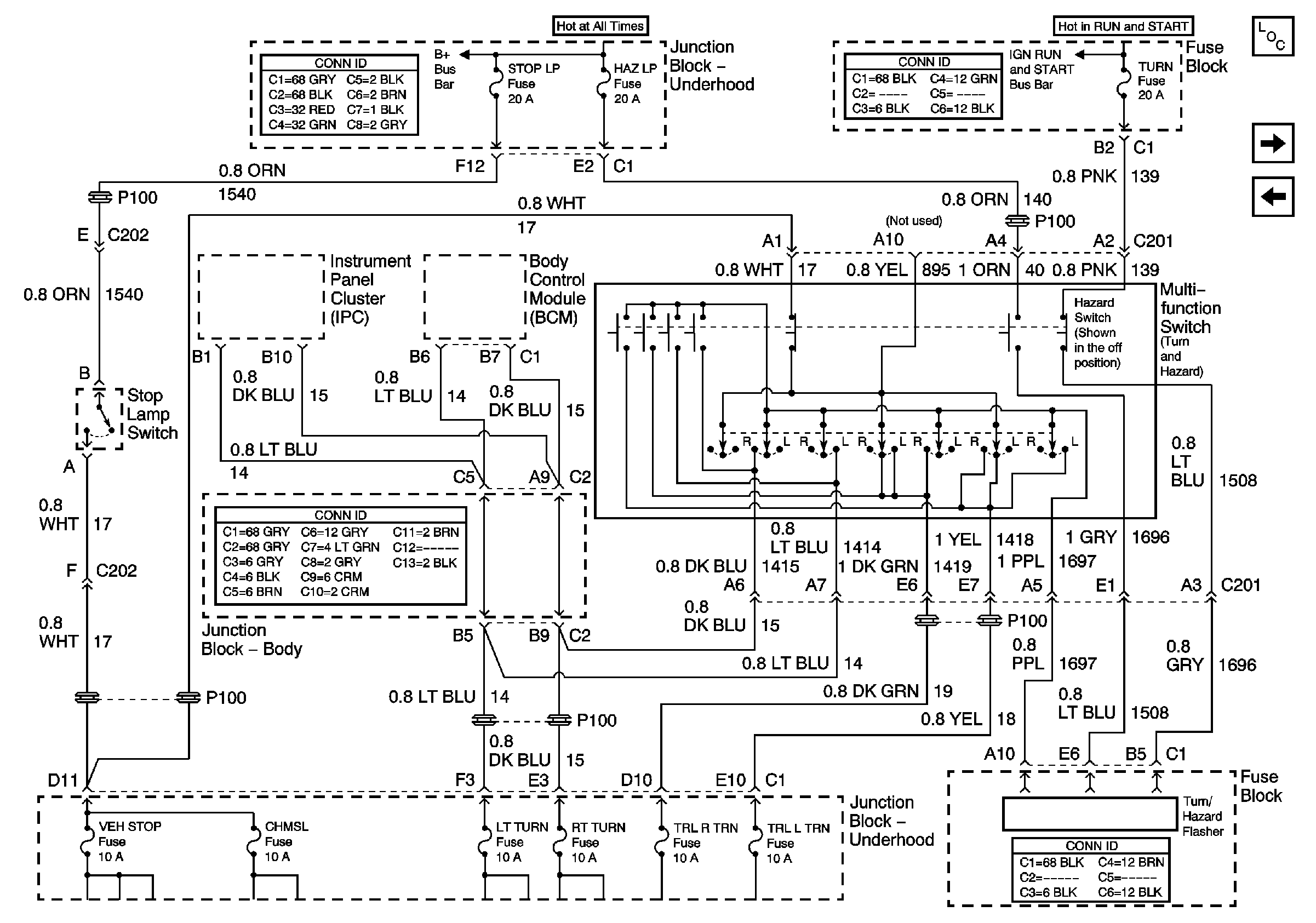
🢒 STOP, TURN, and HAZARD Bus Bars
STOP, TURN, and HAZARD Bus Bars
STOP, TURN, and HAZARD Bus Bars
Master Electrical Component List
B/U LP, BTSI, VEH B/U, and TRL B/U Fuses
IGNITION, RUN, and START Bus Bar
B+ Bus Bar
IGNITION, RUN, and START Bus Bar