GM Service Manual Online
For 1990-2009 cars only
Makes
🢒
Generic
🢒
2003
🢒
Unit Repair
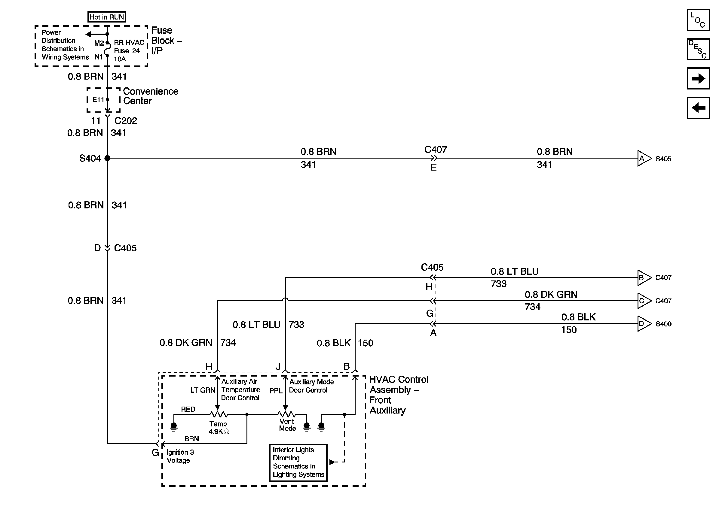
🢒 RR HVAC Fuse, Front Auxiliary HVAC Control Module (Cargo)
RR HVAC Fuse, Front Auxiliary HVAC Control Module (Cargo)
RR HVAC Fuse, Front Auxiliary HVAC Control Module (Cargo)
Master Electrical Component List
Air Temperature Description and Operation
Rear Auxiliary Mode Valve and Seal Assembly, Rear Auxiliary TemperAture Valve Assembly, G400
RR HVAC Fuse, Front and Rear Auxiliary HVAC Control Modules, Heater and A/C Control Logic Module (Passenger)
Ignition A, Ignition B Fuses, and Ignition Switch
Rear Auxiliary Mode Valve and Seal Assembly, Rear Auxiliary TemperAture Valve Assembly, G400
Rear Auxiliary Mode Valve and Seal Assembly, Rear Auxiliary TemperAture Valve Assembly, G400
ILLUM and PARK LPS Fuses