GM Service Manual Online
For 1990-2009 cars only
Makes
🢒
Generic
🢒
2003
🢒
Unit Repair
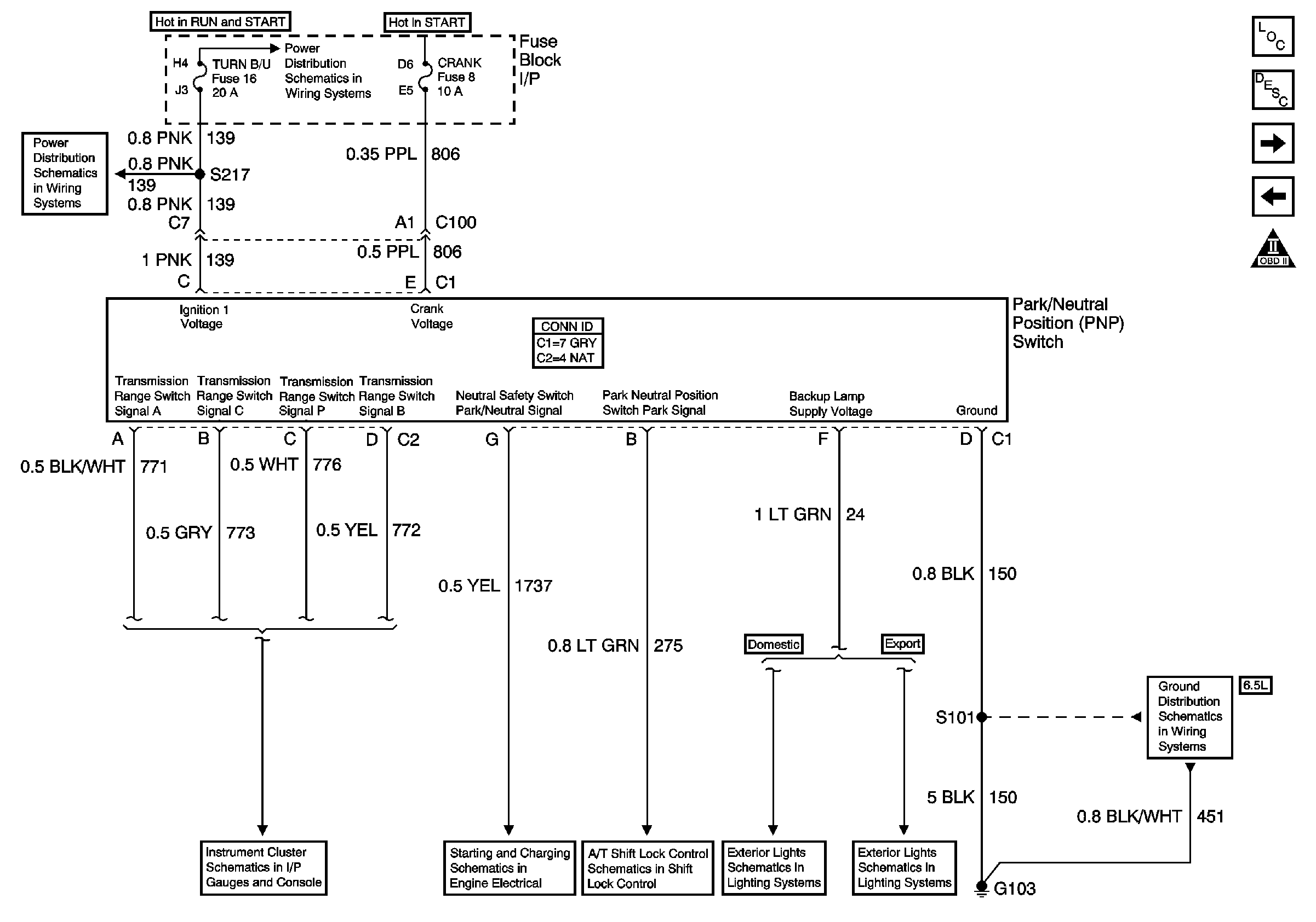
🢒 Park/Neutral Position Switch
Park/Neutral Position Switch
Park/Neutral Position Switch
Master Electrical Component List
Electronic Component Description
Sensor, Solenoid and GND Controls
PWR, Solenoids, TCC/Stoplamp Controls
OBD II Symbol Description Notice
Courtesy, Air Bags, and Turn Backup Fuses
Ignition A, Ignition B Fuses, and Ignition Switch
Headlamp Switch, Instrument Cluster, Park/Neutral Position Switch
Starting System: Gasoline Engines
Shift Lock Control
Backup Lamps
Backup Lamps
G103 (6.5L Diesel Engine)