GM Service Manual Online
For 1990-2009 cars only

Removal Procedure

  1. Remove the park brake bezel and the park brake lever boot.
  2. Remove the front floor console. Refer to Console Replacement in Instrument Panel, Gages, and Console.
  3. Ensure that the park brake lever is in the fully released position.
  4. Remove the console support bracket. Refer to Floor Console Bracket Replacement .

  5. Object Number: 891320  Size: SH
  6. Remove the shift assembly. Refer to Transmission Control Replacement in Automatic Transmission - 4T40-E/4T65-E.
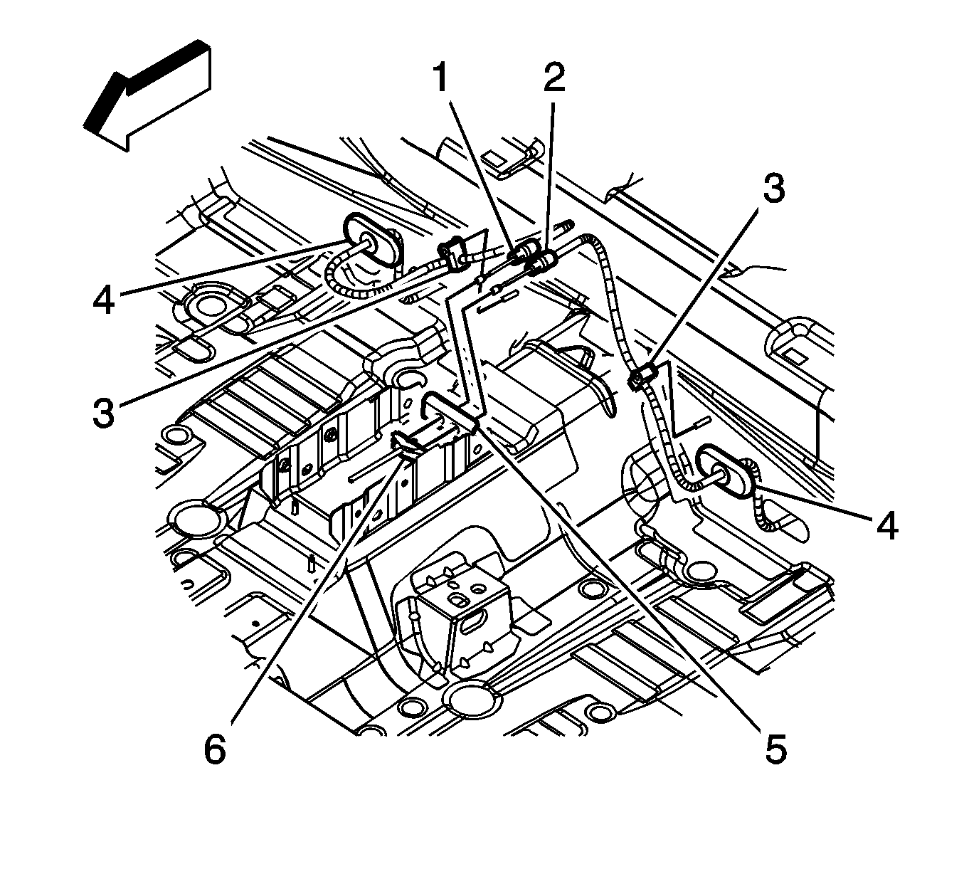
  7. Disconnect the electrical connector (1) from the park brake warning lamp switch.

  8. Object Number: 1486373  Size: SH
  9. Remove the 4 park brake lever retaining nuts.

  10. Object Number: 1489432  Size: SH
  11. Remove the right rear cable (1) and the left rear cable (2) from the park brake lever equalizer (6).
  12. Remove the park brake lever assembly from the vehicle.

Installation Procedure


    Object Number: 1486373  Size: SH
  1. Install the park brake lever assembly to the vehicle. Do not tighten the 4 retaining nuts.

  2. Object Number: 1489432  Size: SH
  3. Install the right rear cable (1) and the left rear cable (2) to the park brake lever equalizer (6).
  4. Notice: Refer to Fastener Notice in the Preface section.


    Object Number: 1486373  Size: SH
  5. Install the 4 park brake lever assembly retaining nuts.
  6. Tighten

        • Tighten the front 2 nuts to 27 N·m (20 lb ft).
        • Tighten the rear 2 nuts to 10 N·m (89 lb in).
  7. Install the shift assembly. Refer to Transmission Control Replacement in Automatic Transmission - 4T40-E/4T65-E.

  8. Object Number: 891320  Size: SH
  9. Connect the electrical connector (1) to the park brake warning lamp switch.
  10. Install the console support bracket. Refer to Floor Console Bracket Replacement .
  11. Install the front floor console. Refer to Console Replacement in Instrument Panel, Gages, and Console.
  12. Fully apply and release the park brake lever 3-5 times.