GM Service Manual Online
For 1990-2009 cars only
Makes
🢒
Generic
🢒
2005
🢒
Unit Repair
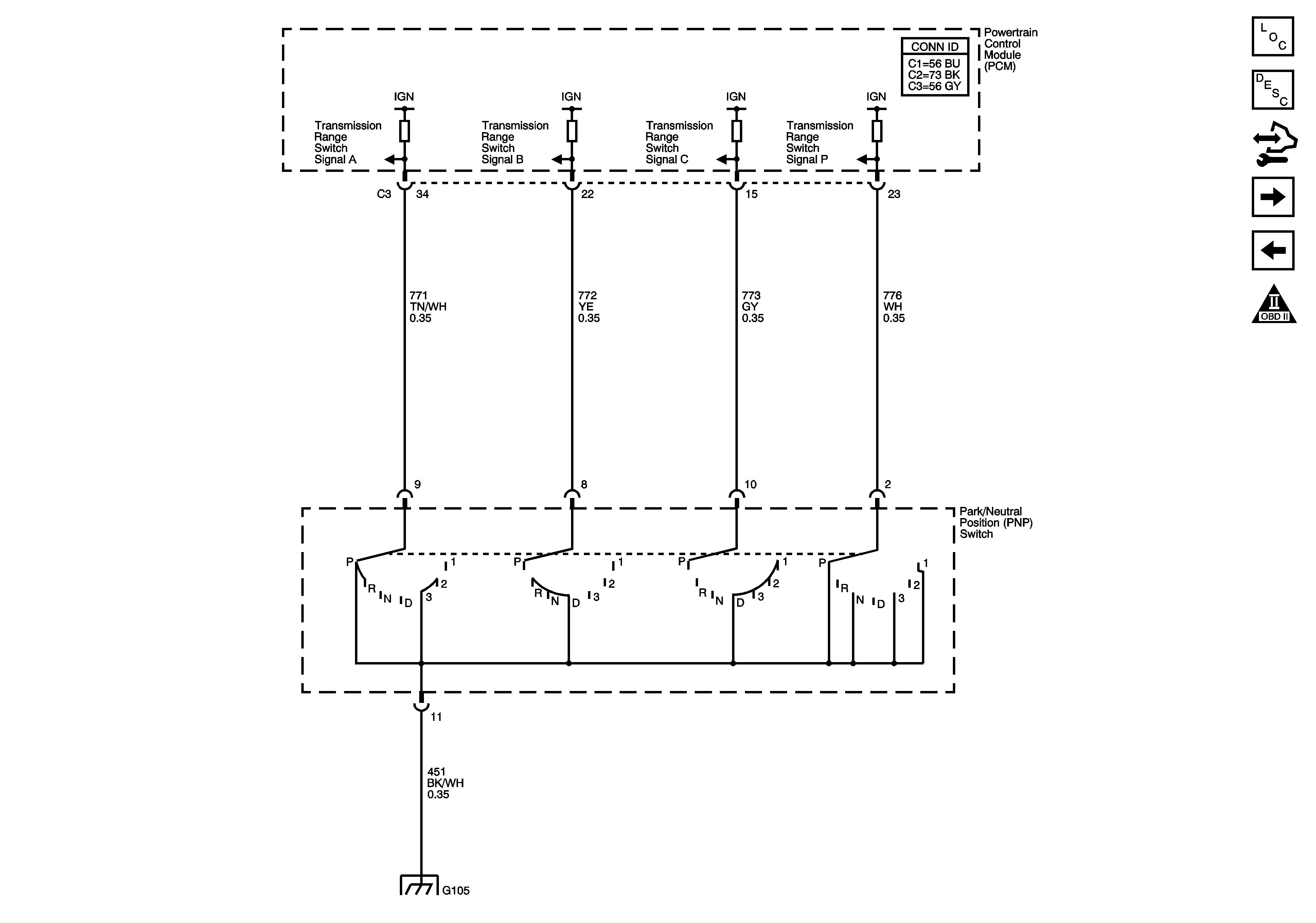
🢒 PNP Switch
PNP Switch
PNP Switch
Master Electrical Component List
Transmission General Description
Control Module References
Tap Up/Tap Down Switch
Transmission Switches, TFT and A/T ISS Sensor
Automatic Transmission Schematic Icons
G103, G104 and G105