GM Service Manual Online
For 1990-2009 cars only
Makes
🢒
Generic
🢒
2005
🢒
Unit Repair
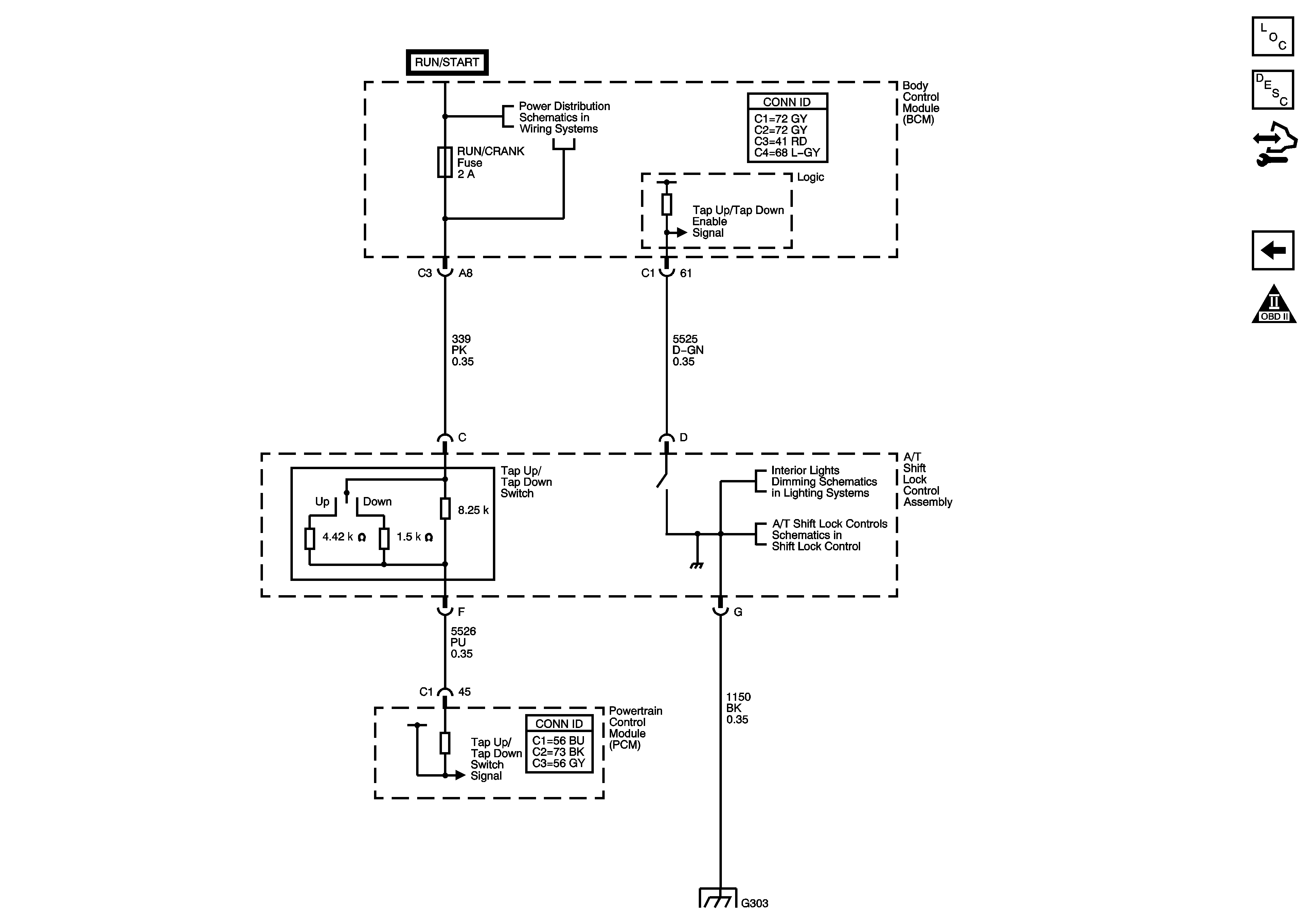
🢒 Tap Up/Tap Down Switch
Tap Up/Tap Down Switch
Tap Up/Tap Down Switch
Master Electrical Component List
Transmission General Description
Control Module References
PNP Switch
Automatic Transmission Schematic Icons
Underhood Fuse Block RUN/RLY, IBCM (R/C), Body Control Module (BCM) HVAC BLOWER, HVAC HEAD/ECC, EPS, AIR BAG and RUN/CRANK Fuses
Seats and Center Console
Automatic Transmission Shift Lock Controls Schematics
G303