GM Service Manual Online
For 1990-2009 cars only
Makes
🢒
Generic
🢒
2006
🢒
Unit Repair
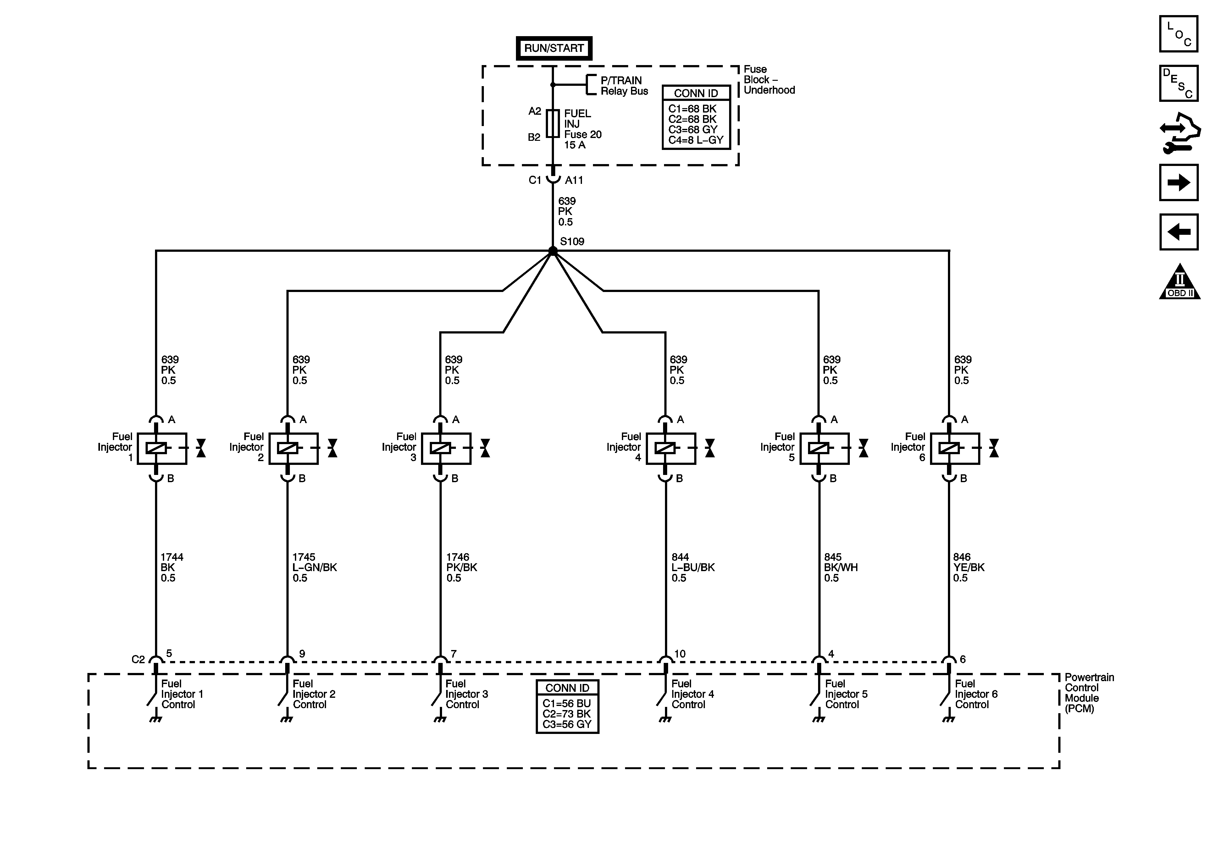
🢒 Fuel Injectors
Fuel Injectors
Fuel Injectors
Master Electrical Component List
Fuel System Description
Control Module References
EVAP, EGR, and FTP Controls
Fuel Pump Controls
OBD II Symbol Description Notice
Fuse Block - Underhood B+ Bus