GM Service Manual Online
For 1990-2009 cars only

Transaxle Assembly 1

Tools Required

    • J 28467-A Universal Support Fixture
    • J 28467-89 Universal Support Fixture Adapters
    • J 28712 Drive Axle Boot Protectors

Removal Procedure


    Object Number: 179573  Size: SH
  1. Disconnect the negative (-) battery cable (3).
  2. Caution: Unless directed otherwise, the ignition and start switch must be in the OFF or LOCK position, and all electrical loads must be OFF before servicing any electrical component. Disconnect the negative battery cable to prevent an electrical spark should a tool or equipment come in contact with an exposed electrical terminal. Failure to follow these precautions may result in personal injury and/or damage to the vehicle or its components.

  3. Remove the hood bolts and the hood assembly with assistants.
  4. Remove the battery hold down bolt and bracket.
  5. Remove the battery.
  6. Disconnect the transaxle electrical connections.
  7. Disconnect the speedometer cable.
  8. Remove the TV cable adjustment cover and the TV cable (4) from the accelerator cable at the top of the transaxle.
  9. Remove the shift select cable adjustment nut (1) from the end of the shift select cable. Remove the shift select cable from the manual select cable joint.
  10. Remove one retaining clip and the shift select cable from the bracket at the top of the transaxle case.
  11. Loosen the accelerator cable adjustment nuts.
  12. Disconnect the accelerator cable from the bracket at the top of the transaxle.
  13. Remove the harness from the bracket (2) from the rear of the transaxle case.
  14. Disconnect the electrical connectors from the vehicle speed sensor (VSS) (Refer to Vehicle Speed Sensor ), the shift solenoid harness (Refer to Shift Solenoids and Solenoids Wiring Harness , and the PNP switch (Refer to Transaxle Range Switch ).

  15. Object Number: 429149  Size: SH
  16. Remove one clip and the speedometer cable (1) from the speedometer driven gear case.
  17. disconnect the starter electrical connections.
  18. Remove the starter bolts.
  19. Remove the starter and the spacer plate.

  20. Object Number: 179572  Size: MH

    Important: Plug the fluid cooler hoses to prevent transaxle cooler leakage.

  21. Remove the following components from the cooler pipes:
  22. • The two clamps
    • The inlet fluid cooler hose (1,4)
    • The outlet fluid cooler hose (5)
  23. Raise and suitably support the vehicle. Refer to Lifting and Jacking the Vehicle in General Information.
  24. Lower the vehicle.
  25. Remove one upper rear transaxle mount-to-bulkhead bolt.
  26. Remove 2 upper transaxle-to-engine retaining bolts from the transaxle.

  27. Object Number: 179573  Size: SH
  28. Remove one bolt and the negative (-) battery cable (3) from the transaxle case.

  29. Object Number: 428200  Size: SH
  30. Use J 28467-A and J 28467-89 in order to install and support the engine.
  31. Raise and suitably support the vehicle. Refer to Lifting and Jacking the Vehicle in General Information.
  32. Remove both of the front tire/wheel assemblies. Refer to Wheel Removal or Wheel Installation in Tires and Wheels.
  33. Place a drain pan or suitable container under the transaxle fluid pan.
  34. Remove the transaxle drain plug. Drain the transaxle fluid.

  35. Object Number: 179575  Size: SH
  36. Remove the twelve retaining clips (1) and the right and the left splash shields (2) from the vehicle.
  37. Remove the right and the left ball stud bolts.
  38. Separate the control arms from the steering knuckles. Refer to Lower Control Arm Replacement.
  39. Notice: J 28712 should be installed on any drive axle prior to service procedures on or near the drive axle. Failure to observe this can result in boot damage and possible joint failure. Refer to Drive Axle for information on the J 28712 and for proper drive axle removal and handling procedures.

  40. Install J 28712 on the differential-side joints and the wheel-side joints of both drive axles.
  41. Remove the right and the left drive axle assemblies from the vehicle. Refer to Wheel Drive Shaft Replacement in Wheel Drive Shafts.

  42. Object Number: 179667  Size: SH
  43. Remove 3 bolts (1) and the rear engine torque rod (2) from the transaxle case.

  44. Object Number: 179416  Size: SH
  45. Remove 2 bolts and the flywheel cover from the transaxle case housing (3).
  46. Remove 6 flywheel-to-torque converter bolts (1) from the flywheel (5). In order to lock the flywheel, engage a standard flat-bladed tool with the flywheel ring gear through the slot provided at the underside of the transaxle case housing.

  47. Object Number: 429159  Size: SH
  48. Remove the muffler mounting bracket (2) from the rear engine mount bracket exhaust hanger (1).
  49. Remove one lower rear engine mount-to-bulkhead bolt and the rear engine mount from the vehicle.
  50. Remove two nuts, two bolts and the rear engine mount bracket from the transaxle.
  51. Lower the vehicle.
  52. Lower the engine slightly at the J 28467-A .
  53. Raise and suitably support the vehicle. Refer to Lifting and Jacking the Vehicle in General Information.
  54. Support the transaxle with a suitable hydraulic jack.

  55. Object Number: 429156  Size: SH
  56. Remove two retaining nuts (1) from the left transaxle mount (2).
  57. Remove 2 bolts and the left transaxle mount and the bracket from the transaxle.
  58. Remove one lower engine-to-transaxle retaining bolt and nut.
  59. Remove one transaxle stud from the transaxle.
  60. Remove the transaxle from the engine by carefully moving the transaxle away from the engine toward the left side of the engine compartment and very slowly lowering the transmission jack making sure no obstructions exist.

Installation Procedure


    Object Number: 203976  Size: SH

    Notice: Automatic transmission oil cooler flushing must be performed when an automatic transmission is removed for service. The flushing procedure should be performed after the installation of the overhauled or replacement transmission. Failure to flush the system may cause damage to the system and its components.

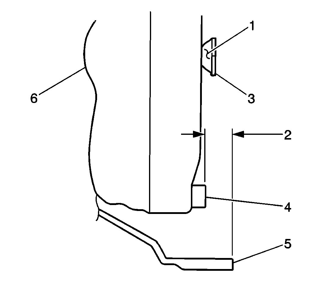
    Important: Before installing the transaxle assembly apply grease around the cup at the center of the torque converter (1). This will ensure ease of assembly.

  1. Measure the distance (2) shown in the figure. The distance should be more than 21.4 mm (0.85 inch). If the distance is less than 21.4 mm (0.85 inch), the torque converter is improperly installed. Reseat the torque converter properly onto the input shaft.
  2. Use the following steps in order to install the transaxle to the engine block:
  3. 2.1. Use a suitable hydraulic jack in order to carefully raise the transaxle.

    Ensure that no obstructions exist.

    2.2. Install the transaxle to the engine block.
  4. Install one transaxle stud to the transaxle.

  5. Object Number: 428395  Size: SH

    Notice: Use the correct fastener in the correct location. Replacement fasteners must be the correct part number for that application. Fasteners requiring replacement or fasteners requiring the use of thread locking compound or sealant are identified in the service procedure. Do not use paints, lubricants, or corrosion inhibitors on fasteners or fastener joint surfaces unless specified. These coatings affect fastener torque and joint clamping force and may damage the fastener. Use the correct tightening sequence and specifications when installing fasteners in order to avoid damage to parts and systems.

  6. Install one lower engine-to-transaxle retaining bolt (2) and nut  (1).
  7. Tighten
    Tighten the lower engine-to-transaxle retaining bolt and nut to 55 N·m (40 lb ft).


    Object Number: 429156  Size: SH
  8. Install the left transaxle mount and bracket (1) to the transaxle. Secure with 2 bolts (2).
  9. Tighten
    Tighten the left transaxle mount bracket bolts to 55 N·m (40 lb ft).

  10. Install two retaining nuts to the left transaxle mount.
  11. Tighten
    Tighten the left transaxle mount retaining nuts to 55 N·m (40 lb ft).

  12. Remove the hydraulic jack from under the transaxle.
  13. Lower the vehicle.
  14. Raise the engine at the J 28467-A .
  15. Raise and suitably support the vehicle. Refer to Lifting and Jacking the Vehicle in General Information.

  16. Object Number: 429159  Size: SH
  17. Install the rear engine mount bracket to the transaxle. Secure the bracket with two bolts and two nuts.
  18. Tighten
    Tighten the rear engine mount bracket bolts and nuts to 55 N·m (40 lb ft).

  19. Install the rear engine mount to the bulkhead. Secure with one lower rear engine mount-to-bulkhead bolt.
  20. Tighten
    Tighten the lower rear engine mount-to-bulkhead bolt to 55 N·m (40 lb ft).


    Object Number: 179416  Size: SH
  21. Install 6 flywheel-to-torque converter bolts. In order to lock the flywheel (4) engage a standard flat-bladed tool with the flywheel ring gear through the slot (3) provided at the underside of the transaxle case housing.
  22. Tighten
    Tighten the flywheel-to-torque converter bolts to 19 N·m (14 lb ft).

  23. Install the flywheel cover to the transaxle case housing. Secure the cover with 2 bolts.
  24. Tighten
    Tighten the flywheel cover bolts to 10 N·m (89 lb in).

  25. Install the right and left drive axle assemblies into the vehicle. Refer to Wheel Drive Shaft Replacement in Wheel Drive Shafts.
  26. Remove J 28712 from the differential-side joints and wheel-side joints of both drive axles.

  27. Object Number: 179667  Size: SH
  28. Install the rear engine torque rod assembly (2) to the transaxle case. Secure with 3 bolts (1) .
  29. Tighten
    Tighten the rear engine torque rod assembly bolts to 55 N·m (40 lb ft).

  30. Install the right and left control arms to the steering knuckles. Secure with ball stud bolts. Refer to Lower Control Arm Replacement.
  31. Tighten
    Tighten the ball bolts to 60 N·m (44 lb ft).


    Object Number: 179575  Size: SH
  32. Install the right and left splash shields (2) to the vehicle. Secure with 12 retaining clips (1) .
  33. Install the transaxle drain plug into the transaxle fluid pan.
  34. Tighten
    Tighten transaxle drain plug to 23 N·m (17 lb ft).

  35. Install both front tire/wheel assemblies. Refer to Wheel Removal or Wheel Installation in Tires and Wheels.
  36. Lower the vehicle.

  37. Object Number: 428200  Size: SH
  38. Remove J 28467-89 and J 28467-A .
  39. Connect the negative (-) battery cable. to the transaxle case. Secure with 1 bolt.
  40. Tighten
    Tighten the negative battery cable-to-transaxle case bolt to 15 N·m (11 lb ft).

  41. Install 2 upper transaxle-to-engine retaining bolts.
  42. Tighten
    Tighten the upper transaxle-to-engine to 55 N·m (40 lb ft).

  43. Install one upper rear transaxle mount-to-bulkhead bolt.
  44. Tighten
    Tighten the upper rear transaxle mount-to-bulkhead bolt to 55 N·m (40 lb ft).

  45. Raise and suitably support the vehicle. Refer to Lifting and Jacking the Vehicle in General Information.
  46. Install the starter motor to the transaxle. Secure the motor with 2 bolts.
  47. Tighten
    Tighten the starter motor retaining bolts to 23 N·m (17 lb ft).

  48. Connect the electrical connections to the starter motor.
  49. Lower the vehicle.

  50. Object Number: 179572  Size: MH
  51. Connect the inlet and the outlet fluid cooler hoses (1,5) to the fluid cooler pipes (3) . Secure the hoses with two clamps.

  52. Object Number: 429149  Size: SH
  53. Install the speedometer cable (1) into the speedometer driven gear case. Secure with the speedometer driven gear case retaining clip.
  54. Connect the electrical connectors to the VSS (Refer to Vehicle Speed Sensor ), the shift solenoid wiring harness (Refer to Shift Solenoids and Solenoids Wiring Harness ), and the PNP switch (Refer to Transaxle Range Switch ).

  55. Object Number: 179573  Size: SH
  56. Install the engine wiring harness bracket (2) to the rear of the transaxle case. Secure the bracket with two bolts.
  57. Tighten
    Tighten the engine wiring harness bracket bolts to 16 N·m (12 lb ft).

  58. Install the accelerator cable into the bracket at the top of the transaxle case.
  59. Install the accelerator cable adjustment nuts.
  60. Install the shift select cable (1) into the bracket at the top of the transaxle case. Secure the bracket with one retaining clip.
  61. Install the shift select cable end into the manual select cable joint. Secure the cable end with the shift select cable adjustment nut.
  62. Adjust the shift select cable. Refer to Range Selector Lever Cable Replacement .
  63. Install the TV cable (4) to the accelerator cable. Refer to Automatic Transmission Throttle Valve Cable Replacement .
  64. Adjust the TV cable. Refer to Automatic Transmission Throttle Valve Cable Adjustment .
  65. Install the TV cable adjustment cover.
  66. Install the negative (-) battery cable (3).
  67. Refill the transaxle, as necessary. Refer to Transmission Fluid Check .