GM Service Manual Online
For 1990-2009 cars only

Removal Procedure


    Object Number: 159821  Size: SH
  1. Remove the EVAP canister purge valve. Refer to Evaporative Emission Canister Purge Solenoid Valve Replacement
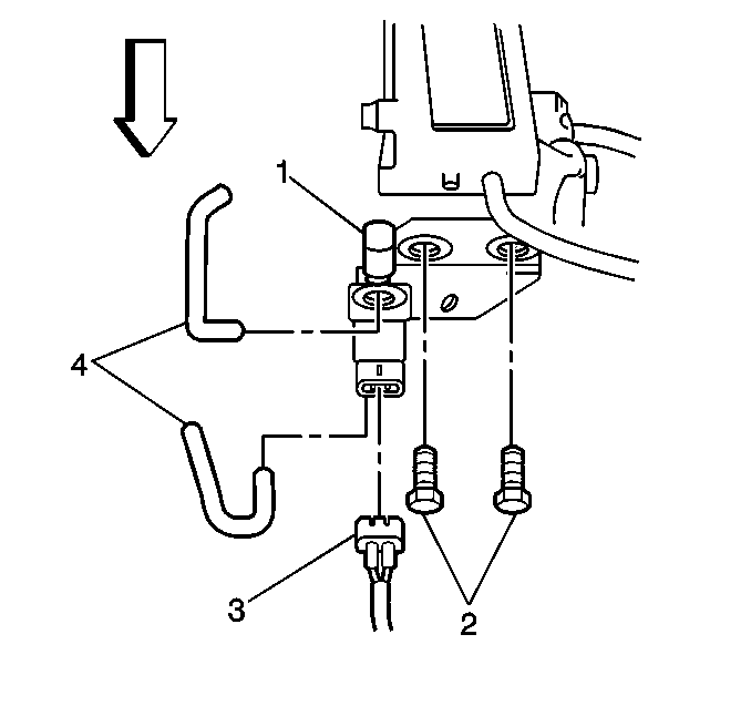
  2. Disconnect the Exhaust Gas Recirculation (EGR) solenoid vacuum valve electrical connector (3).
  3. Disconnect the two vacuum hoses (4) from the EGR solenoid vacuum valve.
  4. Remove the two screws (2) and the EGR solenoid vacuum valve and the bracket (1) from the intake manifold.

Installation Procedure


    Object Number: 159821  Size: SH
  1. Install the EGR solenoid vacuum valve and the bracket (1) to the intake manifold.
  2. Notice: Use the correct fastener in the correct location. Replacement fasteners must be the correct part number for that application. Fasteners requiring replacement or fasteners requiring the use of thread locking compound or sealant are identified in the service procedure. Do not use paints, lubricants, or corrosion inhibitors on fasteners or fastener joint surfaces unless specified. These coatings affect fastener torque and joint clamping force and may damage the fastener. Use the correct tightening sequence and specifications when installing fasteners in order to avoid damage to parts and systems.

  3. Secure the EGR solenoid and bracket with the two screws (2).
  4. Tighten
    Tighten the EGR solenoid bracket screws to 10 N·m (89 lb in).

  5. Connect the two vacuum hoses (4) to the solenoid vacuum valve.
  6. Connect the EGR solenoid vacuum valve electrical connector (3).
  7. Install the EVAP canister purge valve. Refer to EVAP canister purge valve Replacement.