GM Service Manual Online
For 1990-2009 cars only
Makes
🢒
Isuzu
🢒
2003
🢒
Ascender - 4WD
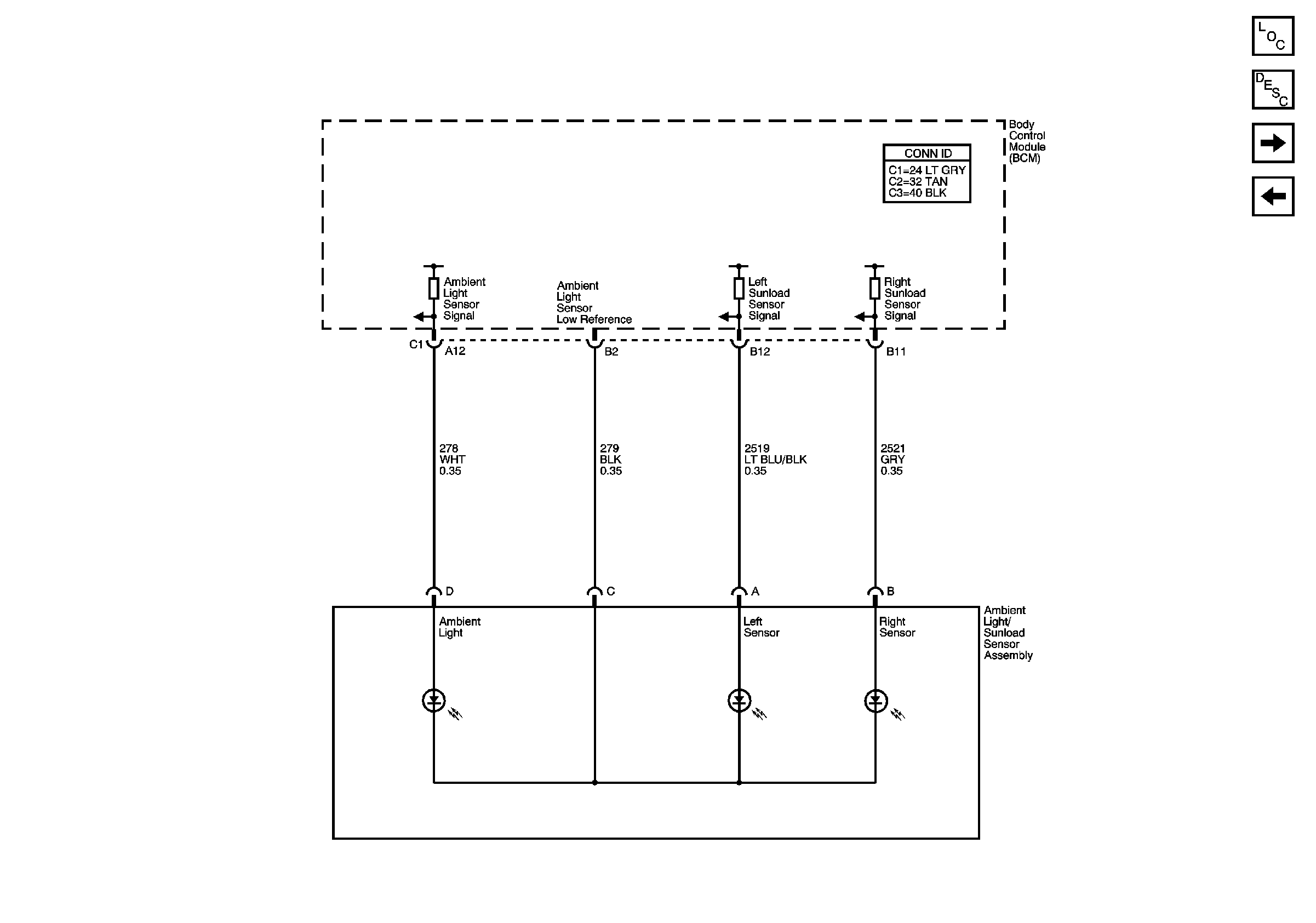
🢒 Ambient Lignt/Sunload Sensor
Ambient Lignt/Sunload Sensor
Ambient Light/Sunload Sensor
Master Electrical Component List
Air Delivery Description and Operation
Rear HVAC with Rear Seat Audio
Air Temperature Sensors