GM Service Manual Online
For 1990-2009 cars only
Figure 1:

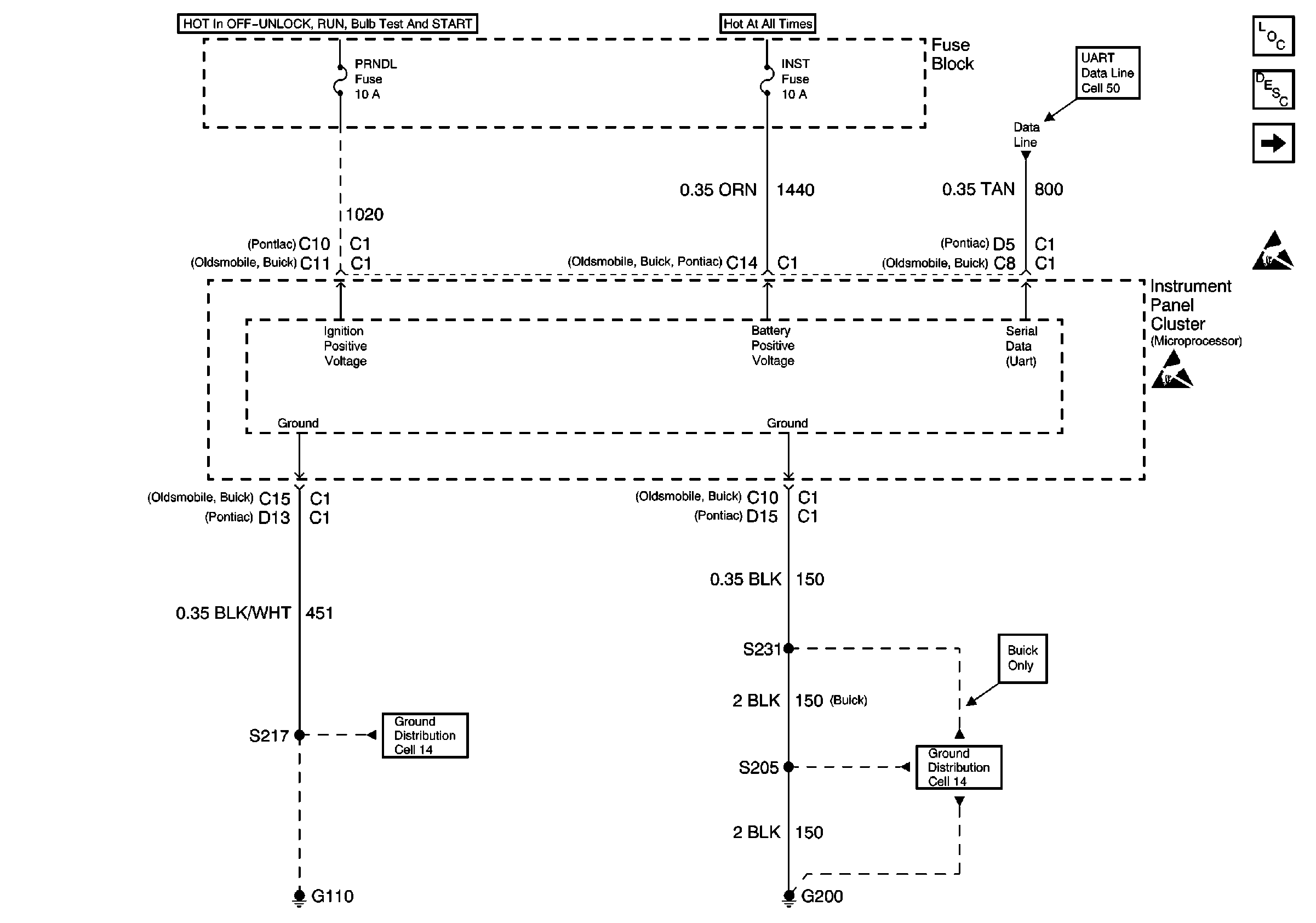
Cell 80: Power, Grounds and UART Data Line


Object Number: 528817  Size: FS
Instrument Cluster Components
Instrument Panel Description
Cell 80: Powertrain Control Module Indicators and Gauges
Handling ESD Sensitive Parts Notice
Ground Distribution Schematics
Ground Distribution Schematics
Figure 2:

Cell 80: Powertrain Control Module Indicators and Gauges


Object Number: 528833  Size: FS
Instrument Cluster Components
Instrument Panel Description
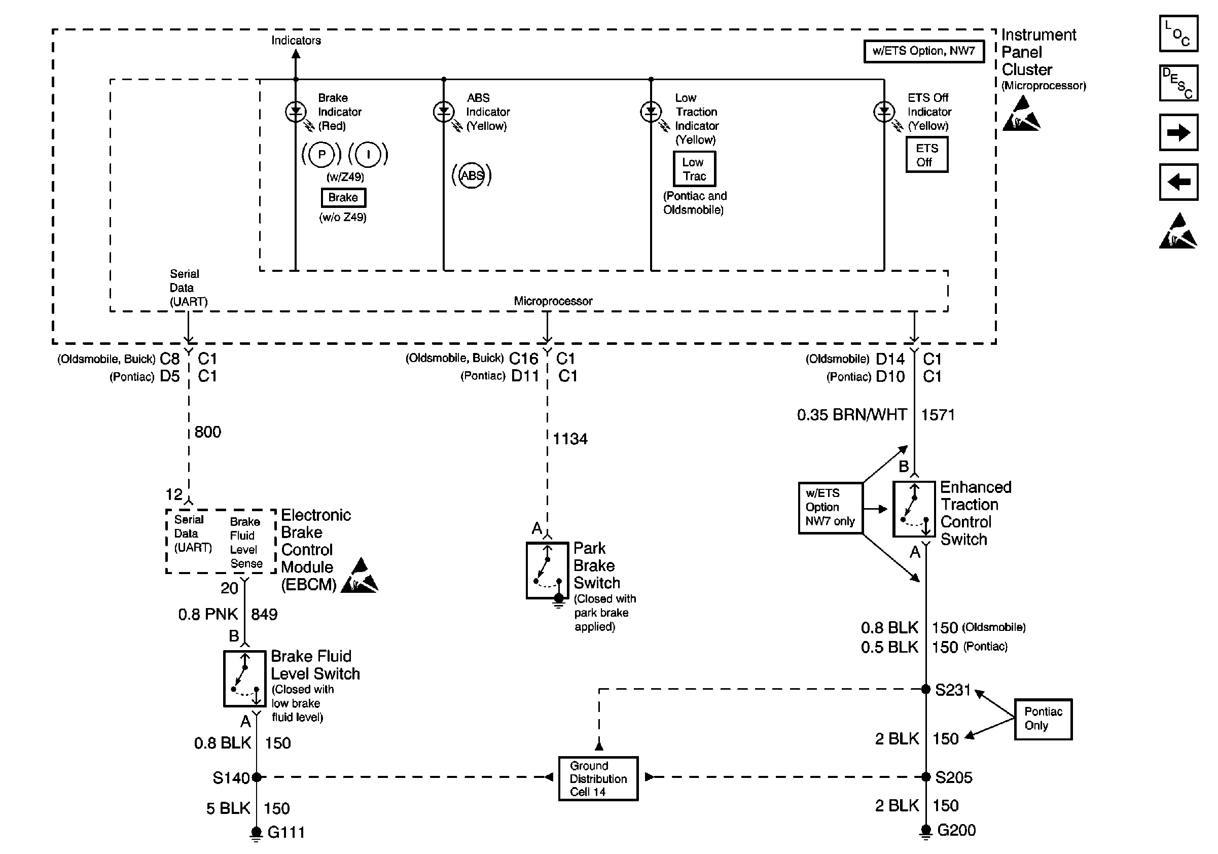
Cell 80: Electronic Brake Module Control Indicators
Cell 80: Power, Grounds and UART Data Line
Handling ESD Sensitive Parts Notice
Ground Distribution Schematics
Figure 3:

Cell 80: Electronic Brake Module Control Indicators


Object Number: 528820  Size: FS
Instrument Cluster Components
Instrument Panel Description
Cell 80: Powertrain Control Module Indicators - PRNDL
Handling ESD Sensitive Parts Notice
Cell 80: Powertrain Control Module Indicators and Gauges
Ground Distribution Schematics
Figure 4:

Cell 80: Powertrain Control Module Indicators - PRNDL


Object Number: 528843  Size: FS
Instrument Cluster Components
Instrument Panel Description
Cell 80: Powertrain Control Module Indicators and Gauges
Cell 80: Electronic Brake Module Control Indicators
Handling ESD Sensitive Parts Notice
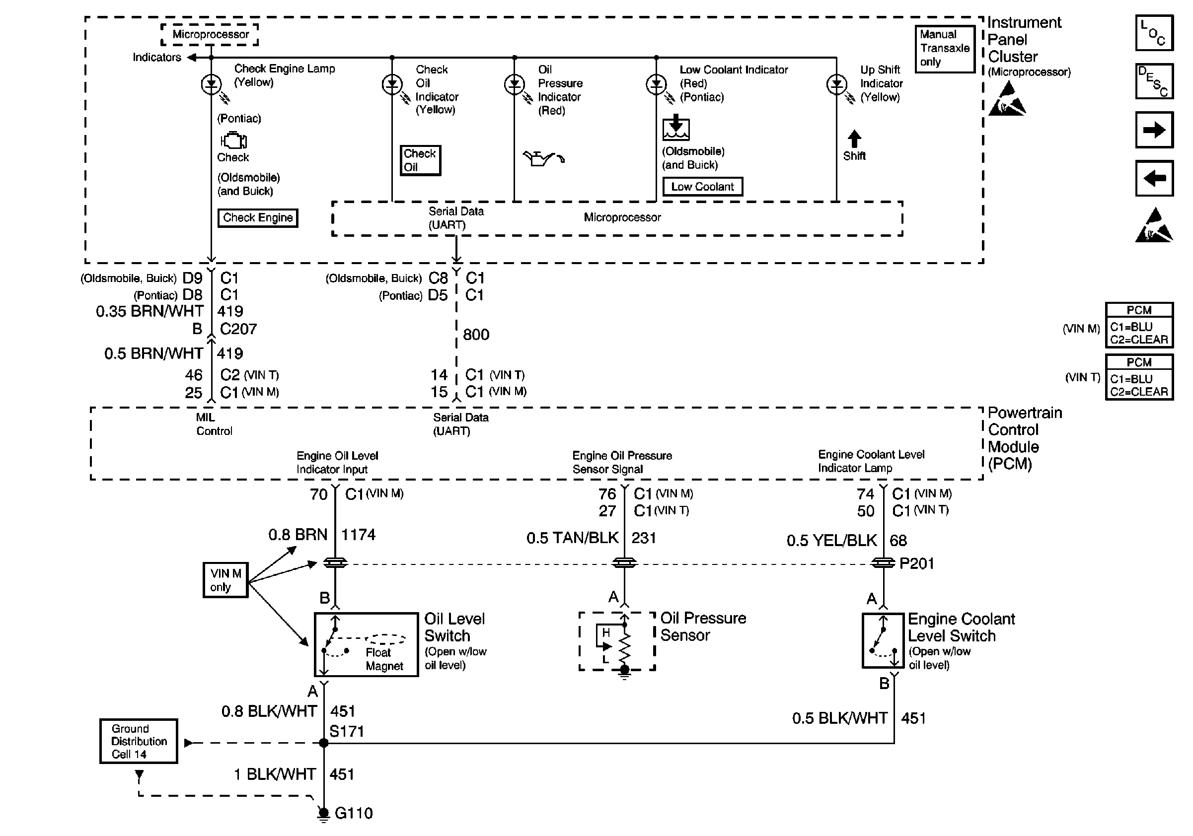
Figure 5:

Cell 80: Powertrain Control Module Indicators and Gauges


Object Number: 528835  Size: FS
Instrument Cluster Components
Instrument Panel Description
Cell 80: Anti-Theft and Check Gauges Indicators
Cell 80: Powertrain Control Module Indicators - PRNDL
Handling ESD Sensitive Parts Notice
SIR Handling Caution
Engine Controls Schematics
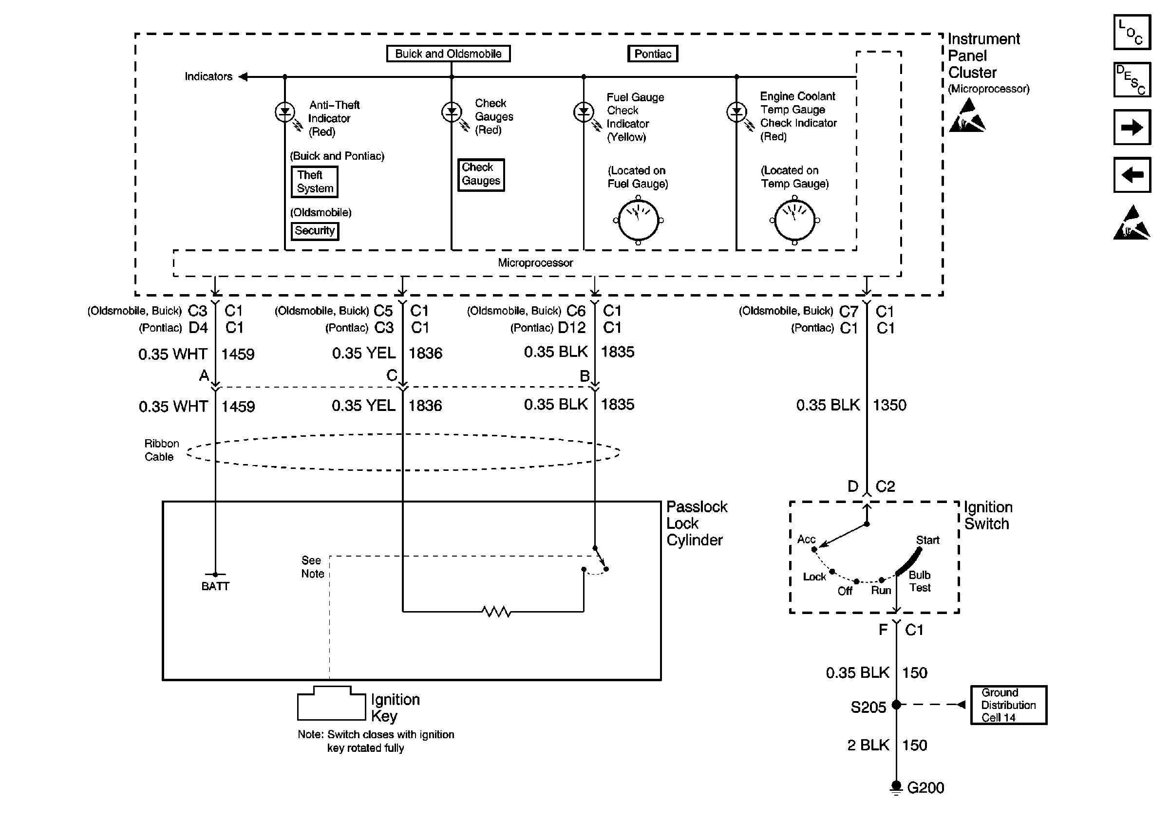
Figure 6:

Cell 80: Anti-Theft and Check Gauges Indicators


Object Number: 528858  Size: FS
Instrument Cluster Components
Instrument Panel Description
Cell 80: Sensing Diagnostic Module Indicators, Backlighting and Fuel Gauge
Cell 80: Powertrain Control Module Indicators and Gauges
Handling ESD Sensitive Parts Notice
Ground Distribution Schematics
Figure 7:

Cell 80: Sensing Diagnostic Module Indicators, Backlighting and Fuel Gauge


Object Number: 528845  Size: FS
Instrument Cluster Components
Instrument Panel Description
Cell 80: Lighting Indicators, Headlight and A/C Control
Cell 80: Anti-Theft and Check Gauges Indicators
Handling ESD Sensitive Parts Notice
SIR Handling Caution
Interior Lights Dimming Schematics
Ground Distribution Schematics
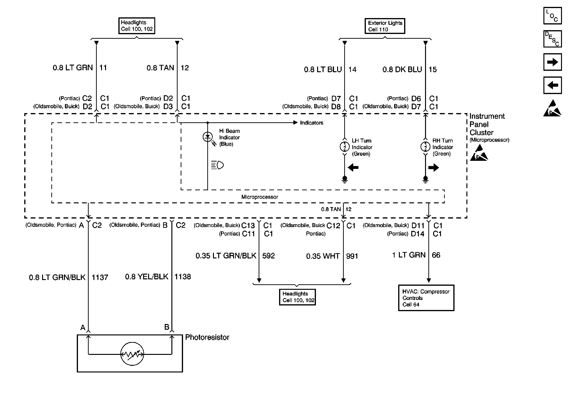
Figure 8:

Cell 80: Lighting Indicators, Headlight and A/C Control


Object Number: 528872  Size: FS
Headlights Schematics Buick
Headlights Schematics Buick
HVAC Compressor Control Schematics
Exterior Lights Schematics
Instrument Cluster Components
Instrument Panel Description
Cell 80: Low Wash Indicator
Cell 80: Sensing Diagnostic Module Indicators, Backlighting and Fuel Gauge
Handling ESD Sensitive Parts Notice
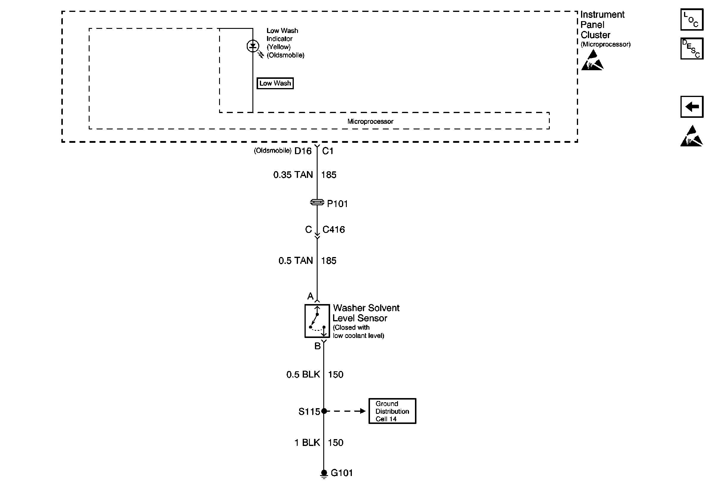
Figure 9:

Cell 80: Low Wash Indicator


Object Number: 528882  Size: FS
Instrument Cluster Components
Instrument Panel Description
Cell 80: Lighting Indicators, Headlight and A/C Control
Handling ESD Sensitive Parts Notice
Ground Distribution Schematics