GM Service Manual Online
For 1990-2009 cars only
Makes
🢒
Oldsmobile
🢒
1998
🢒
Aurora
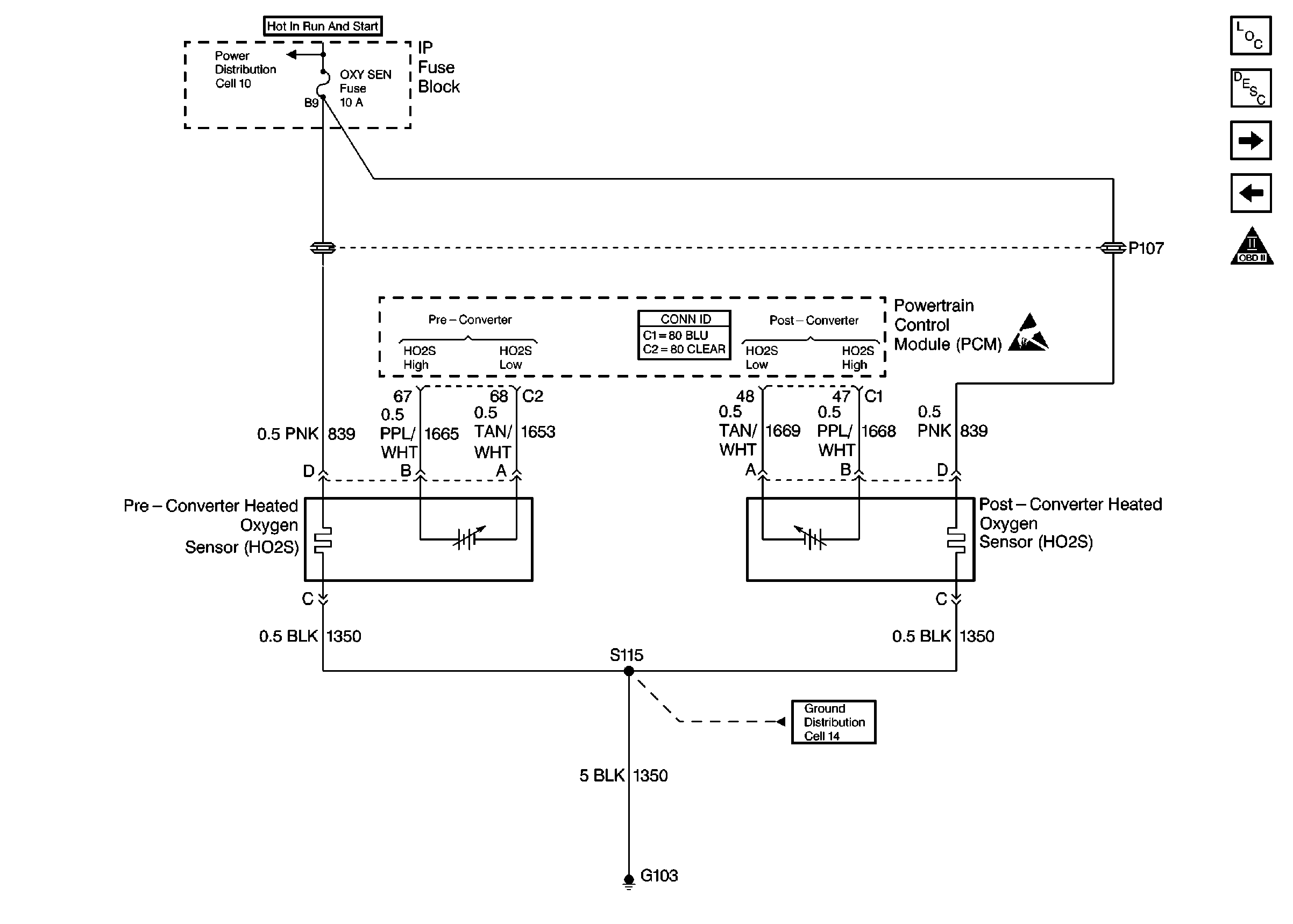
🢒 Cell 21: Converter Heated Oxygen Sensors
Cell 21: Converter Heated Oxygen Sensors
Cell 21: Converter Heated Oxygen Sensors
Engine Controls Components
Powertrain Control Module Description
Cell 21: Front, Rear Heated Oxygen Sensors
Cell 21: MAF, EGR, EVAP Purge, F/T Pressure Sensor
OBDII Symbol Description Notice
Power Distribution Schematics
Powertrain Control Module Connector End Views
Handling ESD Sensitive Parts Notice
Ground Distribution Schematics