GM Service Manual Online
For 1990-2009 cars only

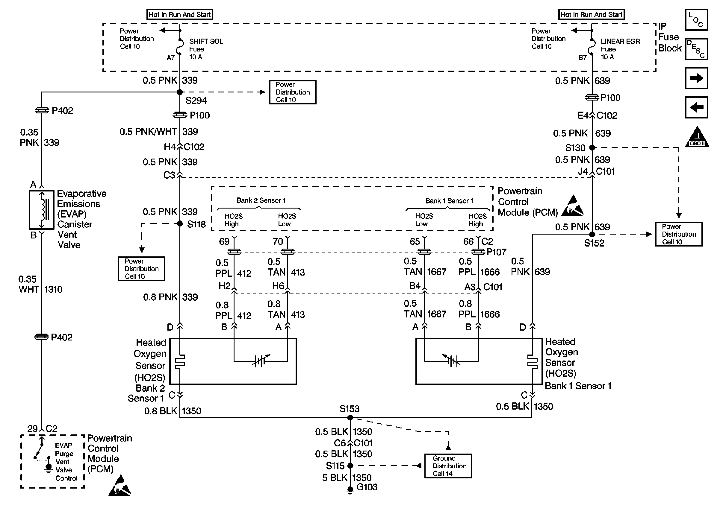
Cell 21: Front, Rear Heated Oxygen Sensors

Cell 21: Front, Rear Heated Oxygen Sensors


Object Number: 187397  Size: FS
Engine Controls Components
Powertrain Control Module Description
Cell 21: PSP, IAC Valve, Coolant Level Switch
Cell 21: Converter Heated Oxygen Sensors
OBDII Symbol Description Notice
Power Distribution Schematics
Power Distribution Schematics
Powertrain Control Module Connector End Views
Handling ESD Sensitive Parts Notice
Power Distribution Schematics
Power Distribution Schematics
Handling ESD Sensitive Parts Notice
Ground Distribution Schematics
Power Distribution Schematics