GM Service Manual Online
For 1990-2009 cars only

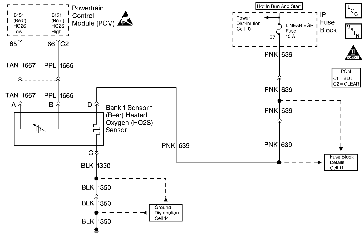
Object Number: 191607  Size: MF
ESD Notice
Cell 21: Front, Rear Heated Oxygen Sensors
Engine Controls Components
OBD II Symbol Description Notice

Circuit Description

The PCM provides a 0.45 volt reference to the oxygen sensor on CKT 1666. When the Oxygen Sensor reaches operating temperature it will generate a counter voltage that will vary based on the amount of oxygen in the exhaust. The rear heated oxygen sensor is located in the manifold before the catalytic converter. A lean exhaust will generate a low voltage and cause the .45 reference to move lower. A rich exhaust will generate a high voltage and cause the .45 reference to move higher. If the oxygen sensor cannot respond under the test conditions and generate a voltage greater than 0.609 volt or less than 0.307 volt, it will a set a DTC P0134. Possible causes of DTC P0134 are:

    •  Open in CKT 1666 or 1667.
    •  Short to voltage on CKT 1666 or 1667.
    •  Oxygen sensor that malfunctions.
    •  An ineffective oxygen sensor heater.
    • A poor HO2S ground.

Conditions for Running the DTC

    •  DTCs P0117, P0118, P0121, P0122, P0123, and P0560 not set.
    •  Coolant temperature 72.5°C (163°F) or greater.
    •  Throttle between 1 and 81.6 degrees.
    •  (Calculated) throttle position switch open.
    •  Engine speed 800 RPM or greater.

Conditions for Setting the DTC

Oxygen sensor voltage stays between 0.307 volt and 0.609 volt for 50 out of 64 seconds, oxygen sensor voltage not toggling.

Action Taken When the DTC Sets

    •  PCM enables Evaporative Emission (EVAP) control solenoid if DTC P0151, P0152 or P0154 is also set.
    •  Closed Loop operation disabled if DTC P0151, P0152, or P0154 is also set.
    •  PCM uses front oxygen sensor feedback for Closed Loop operation if DTCs P0151, P0152 and P0154 are not set.
    •  The PCM will illuminate the malfunction indicator lamp (MIL) when the diagnostic runs and fails.
    •  The PCM will record operating conditions at the time the diagnostic fails. This information will be stored in the Freeze Frame and Failure Records.

Conditions for Clearing the MIL/DTC

    •  The PCM will turn the MIL OFF after three consecutive drive trips that the diagnostic runs and does not fail.
    •  A Last Test Failed (current) DTC will clear when the diagnostic runs and does not fail.
    •  A History DTC will clear after forty consecutive warm-up cycles with no failures of any emission related diagnostic test.
    • Use a scan tool to clear DTCs.
    • Interrupting PCM battery voltage may or may not clear DTCs. This practice is not recommended. Refer to Clearing Diagnostic Trouble Codes in Powertrain Control Module Description .

Diagnostic Aids

Notice: Do not solder heated oxygen sensor wires. Soldering the wires will result in the loss of the air reference to the sensor. Refer to Engine Electrical for proper wire and connection repair techniques.

A loose HO2S or one with a poor exhaust ground may cause this DTC to set. Before replacing an HO2S always check the resistance of the sensor ground. On a COLD engine, measure the resistance between the HO2S low circuit and the PCM ground at the PCM connector. If the resistance measures more than 500 ohms (typically less than 50 ohms), remove the sensor and check for corrosion at the HO2S sensor threads. Clean the HO2S sensor threads, apply a coating of anti-seize compound (5613695 or equivalent) and torque the HO2S sensor to the proper torque. Recheck HO2S ground resistance and replace any sensor with resistance above 500 ohms.

Test Description

The numbers below refer to the step numbers on the Diagnostic Table.

  1. Voltage on scan tool should fluctuate above 0.6 volt and below 0.3 volt. If voltage remains above 0.6 volt, check the Bank 1 HO2S High circuit for a short to voltage. If voltage remains below 0.3 volt, check the Bank 1 HO2S High circuit for a short to ground.

  2. Measuring voltage with a voltmeter will isolate a sensor problem from a PCM wiring problem.

  3. When starting with a cool sensor, amperage should start at 1.5 amps and slowly drop to about 0.9 amps. This verifys that the heater is actually producing heat.

Step

Action

Value(s)

Yes

No

1

Did you perform the Powertrain On-Board Diagnostic (OBD) System Check?

--

Go to Step 2

Go to Powertrain On Board Diagnostic (OBD) System Check

2

  1. Connect a scan tool, start engine.
  2. Start engine, warm-up until engine coolant temperature is the same or more than the value specified.
  3. Check Bnk. 1 Sns. 1 oxygen sensor reading for 30 seconds.

Does voltage remain between the specified values?

85°C (185°F)

0.3 - 0.6 volts

Go to Step 3

Go to Step 6

3

  1. Turn the key to OFF.
  2. Disconnect rear cylinder bank heated oxygen sensor connector.
  3. Start the engine.
  4. Using DMM J 39200 measure voltage between pins A and B (sensor side).

Does voltage remain between the specified values?

0.3 - 0.6 volts

Go to DTC P0133 HO2S Slow Response Bank 1 Sensor 1

Go to Step 4

4

  1. Record the fluid life indexes, turn the key to OFF and wait 30 seconds.
  2. Disconnect PCM connector C2.
  3. Measure the resistance between PCM connector C2 terminal 66 and oxygen sensor connector terminal B.

Is the resistance the same or less than the value specified?

5 ohms

Go to Step 5

Go to Step 9

5

Measure the resistance between PCM connector C2 terminal 65 and oxygen sensor connector terminal A.

Is the resistance the same or less than the value specified?

5 ohms

Go to Step 6

Go to Step 10

6

  1. Turn the key ON, engine OFF
  2. Measure the voltage between oxygen sensor terminals C and D.(harness side)

Is the voltage more than the value specified?

10.5 volts

Go to Step 7

Go to Step 8

7

  1. Jumper oxygen sensor terminal C to terminal C (harness to sensor).
  2. Place DMM J 39200 in series between Oxygen sensor terminals D to D (harness to sensor).
  3. Measure the AMPERAGE on the circuit.

Is the amperage between the values specified

0.9 - 1.5 amps

Go to Step 14

Go to Step 13

8

Measure the voltage from oxygen sensor terminal D (harness side) to ground.

Is the voltage the same or higher than the value specified?

10.5 volts

Go to Step 11

Go to Step 12

9

Repair the open in the Bank 1 HO2S high circuit. Refer to Wiring Repairs in Wiring Systems.

Is the repair complete?

--

Go to Powertrain Control Module Diagnosis for Verify Repair

--

10

Repair the open in the Bank 1 HO2S low circuit. Refer to Wiring Repairs in Wiring Systems.

Is the repair complete?

--

Go to Powertrain Control Module Diagnosis for Verify Repair

--

11

Repair the open in the Bank 1 HO2S ground circuit. Refer to Wiring Repairs in Wiring Systems.

Is the repair complete?

--

Go to Powertrain Control Module Diagnosis for Verify Repair

--

12

Repair the open or short to ground in the Bank 1 HO2S ignition feed circuit. Refer to Wiring Repairs in Wiring Systems.

Is the repair complete?

--

Go to Powertrain Control Module Diagnosis for Verify Repair

--

13

Replace the oxygen sensor. Refer to Heated Oxygen Sensor Replacement .

Is the replacement complete?

--

Go to Powertrain Control Module Diagnosis for Verify Repair

--

14

  1. Check terminal contact at the PCM connector C2 terminals 65 and 66.
  2. Repair terminal contact if needed.

Was terminal contact repaired?

--

Go to Powertrain Control Module Diagnosis for Verify Repair

Go to Step 15

15

Replace the PCM. Refer to Powertrain Control Module Replacement/Programming .

Is the replacement complete?

--

Go to Powertrain Control Module Diagnosis for Verify Repair

--