GM Service Manual Online
For 1990-2009 cars only
Makes
🢒
Oldsmobile
🢒
2001
🢒
Aurora
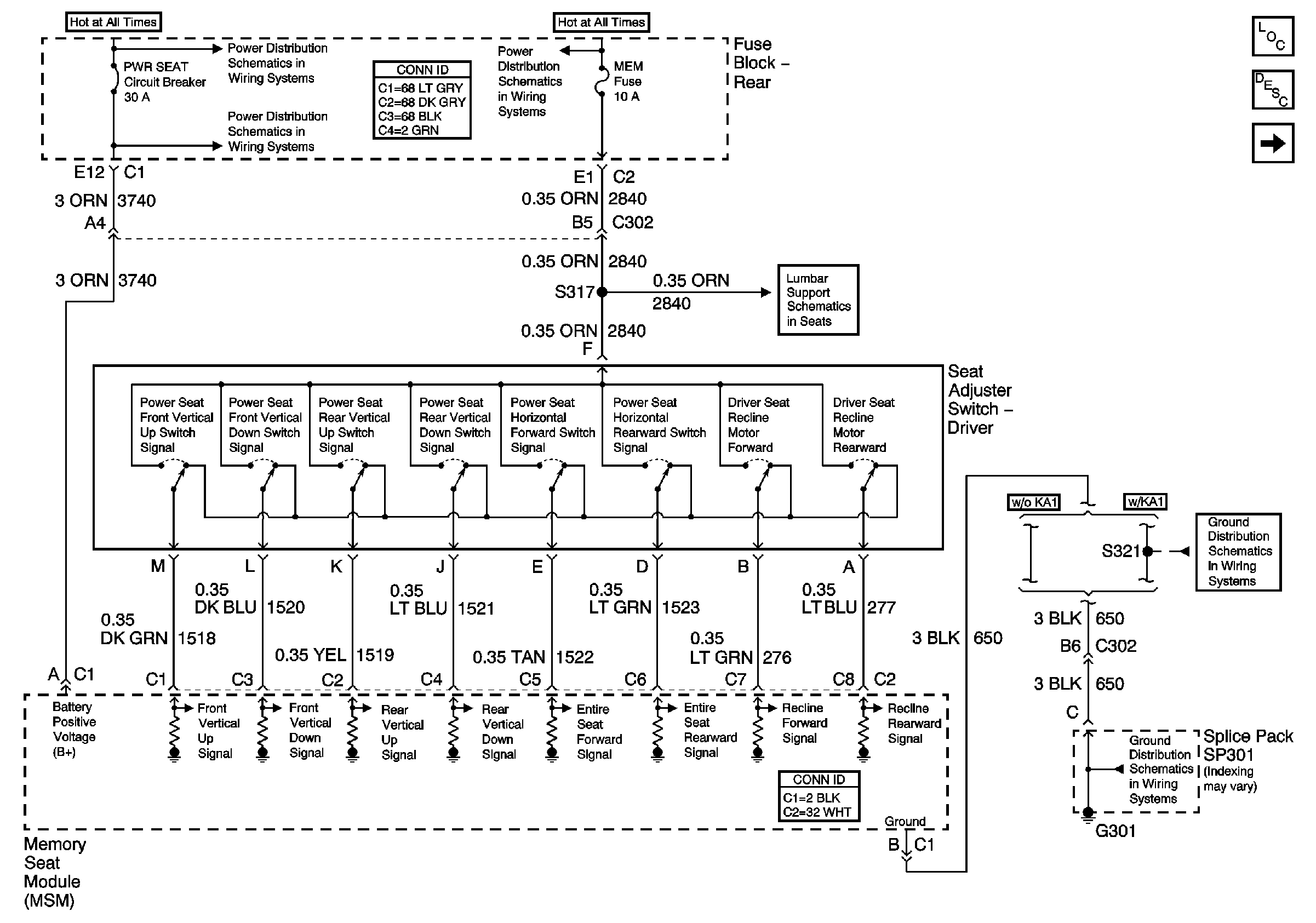
🢒 Power, Ground, Driver Seat Adjuster Switch and MSM
Power, Ground, Driver Seat Adjuster Switch and MSM
Power, Ground, Driver Seat Adjuster Switch and MSM
Master Electrical Component List
Memory Seats Description and Operation
Memory Function Switch
G301 (2 of 2)
G301 (2 of 2)
Driver Seat Lumbar (w/ A45)
PWR WDO and PWR SEAT Circuit Breakers (Fuse Block-Rear)
Battery Feed to the Fuse Block-Rear
Battery Feed to the Fuse Block-Rear