GM Service Manual Online
For 1990-2009 cars only
Makes
🢒
Oldsmobile
🢒
2001
🢒
Aurora
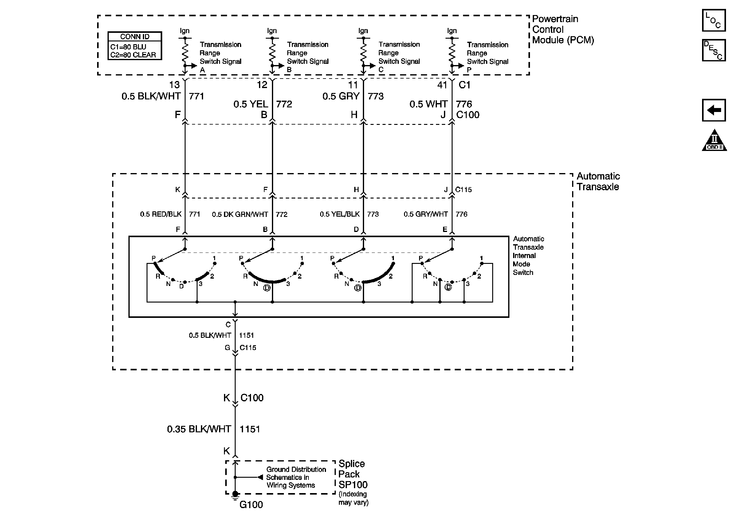
🢒 Internal Mode Switch Inputs
Internal Mode Switch Inputs
Internal Mode Switch Inputs
Master Electrical Component List
Electronic Component Description
Transmission Controls
G100 and G102, L47