GM Service Manual Online
For 1990-2009 cars only
Makes
🢒
Oldsmobile
🢒
2002
🢒
Aurora
🢒 Ignition Controls - Ignition System
Ignition Controls - Ignition System
Ignition Controls -- Ignition System
Master Electrical Component List
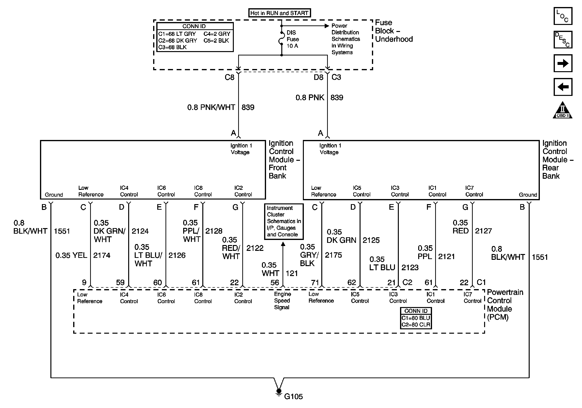
Electronic Ignition (EI) System Description
Ignition Controls - Sensors
Engine Data Sensors - O2S and/or HO2S
OBD II Symbol Description Notice
Battery Feed to the Fuse Block-Underhood
Gages