GM Service Manual Online
For 1990-2009 cars only
Makes
🢒
Oldsmobile
🢒
2002
🢒
Aurora
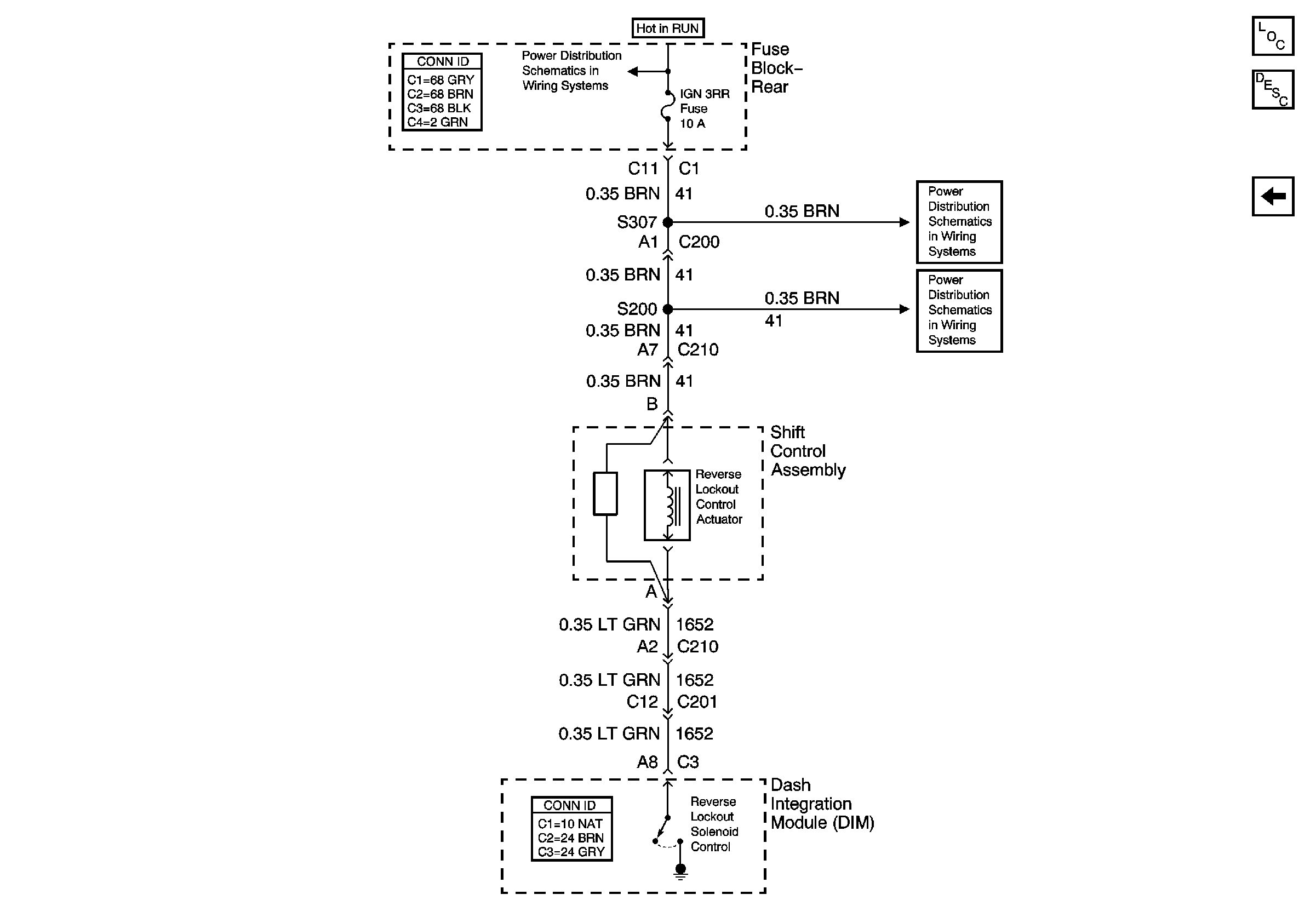
🢒 Reverse Lockout Control
Reverse Lockout Control
Reverse Lockout Control
Master Electrical Component List
Automatic Transmission Shift Lock Control Description and Operation
Power and Grounds
IGN 3 RR, ABS, HVAC Fuses (Fuse Block-Rear)
IGN 3 RR, ABS, HVAC Fuses (Fuse Block-Rear)
Battery Feed to the Fuse Block-Rear