GM Service Manual Online
For 1990-2009 cars only
Makes
🢒
Oldsmobile
🢒
2002
🢒
Aurora
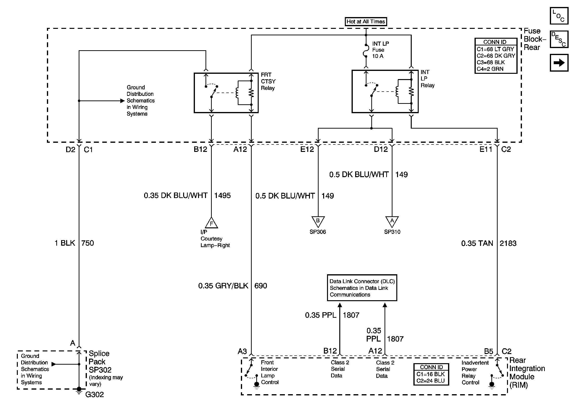
🢒 Interior and Front Courtesy Lamp Relays
Interior and Front Courtesy Lamp Relays
Interior and Front Courtesy Lamp Relays
Master Electrical Component List
Interior Lighting Systems Description and Operation
Door Lock Actuators
Courtesy Lamps-Right
Courtesy Lamps-Left
Courtesy Lamps-Left
Courtesy Lamps-Right
Serial Data Class 2
G302