GM Service Manual Online
For 1990-2009 cars only
Makes
🢒
Oldsmobile
🢒
2002
🢒
Aurora
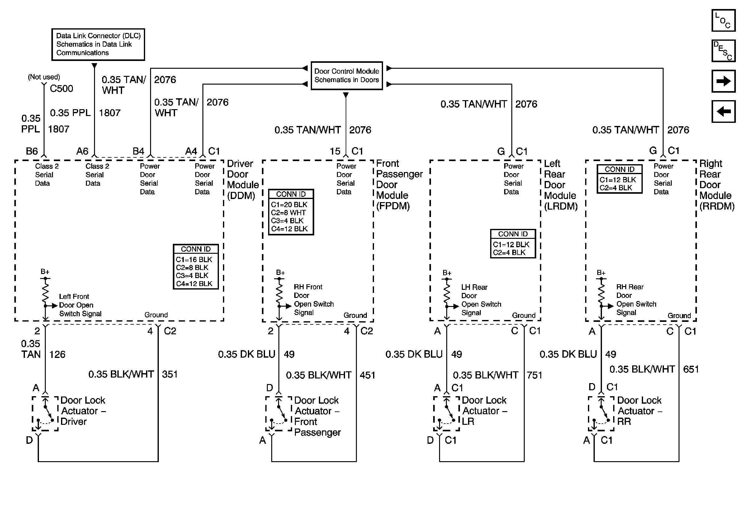
🢒 Door Lock Actuators
Door Lock Actuators
Door Lock Actuators
Serial Data Class 2
Power Door Serial Data
Master Electrical Component List
Interior Lighting Systems Description and Operation
Courtesy Lamps-Left
Interior and Front Courtesy Lamp Relays