GM Service Manual Online
For 1990-2009 cars only
Makes
🢒
Oldsmobile
🢒
2002
🢒
Aurora
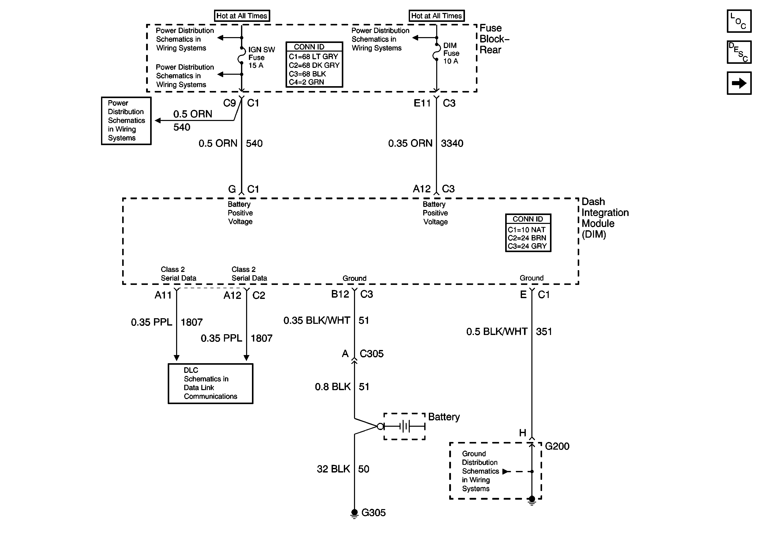
🢒 DIM Power and Grounds
DIM Power and Grounds
DIM Power and Grounds
Master Electrical Component List
Body Control System Description and Operation
DIM Ignition Inputs
IGN SW Fuse (Fuse Block-Rear)
Serial Data Class 2
G200
Battery Feed to the Fuse Block-Rear
IGN SW Fuse (Fuse Block-Rear)
Battery Feed to the Fuse Block-Rear