GM Service Manual Online
For 1990-2009 cars only
Makes
🢒
Oldsmobile
🢒
2002
🢒
Aurora
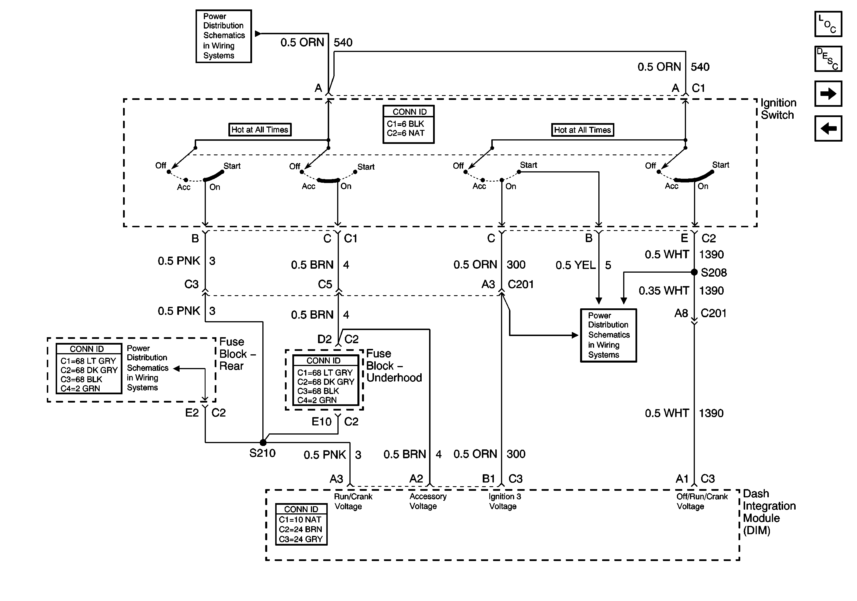
🢒 DIM Ignition Inputs
DIM Ignition Inputs
DIM Ignition Inputs
Master Electrical Component List
Body Control System Description and Operation
DIM Input/Output (1 of 2)
DIM Power and Grounds
IGN SW (Fuse Block-Rear)
IGN SW (Fuse Block-Rear)
IGN SW (Fuse Block-Rear)