GM Service Manual Online
For 1990-2009 cars only
Makes
🢒
Oldsmobile
🢒
2002
🢒
Aurora
🢒 IPM Power and Grounds
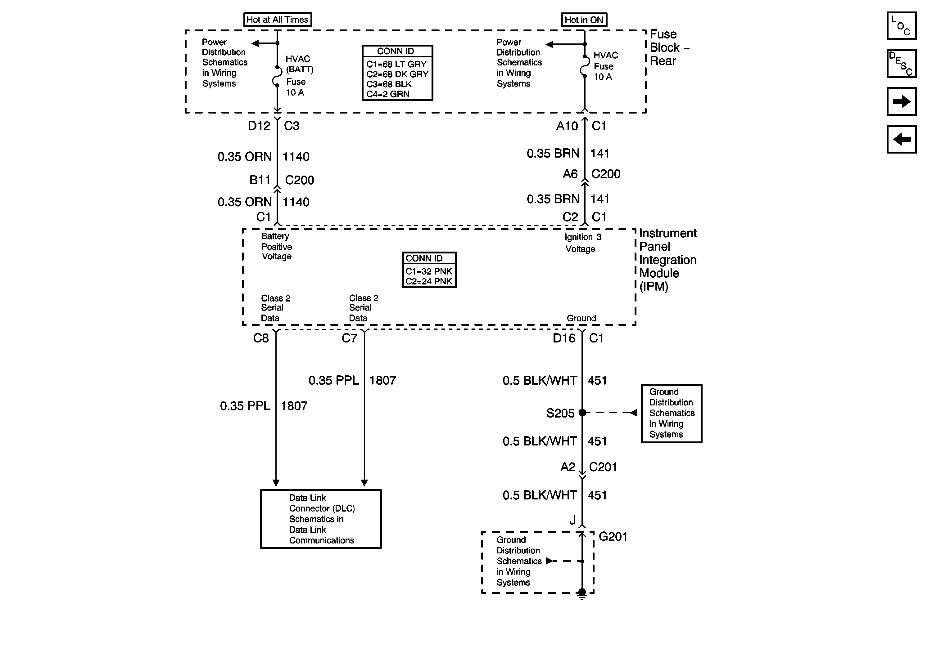
IPM Power and Grounds
IPM Power and Grounds
Master Electrical Component List
Body Control System Description and Operation
IPM Input/Output (1 of 2)
DIM Input/Output (2 of 2)
Battery Feed to the Fuse Block-Rear
IGN 3 RR, ABS, HVAC Fuses (Fuse Block-Rear)
Serial Data Class 2
G201 (2 of 2)
G201 (2 of 2)