GM Service Manual Online
For 1990-2009 cars only
Makes
🢒
Oldsmobile
🢒
2002
🢒
Aurora
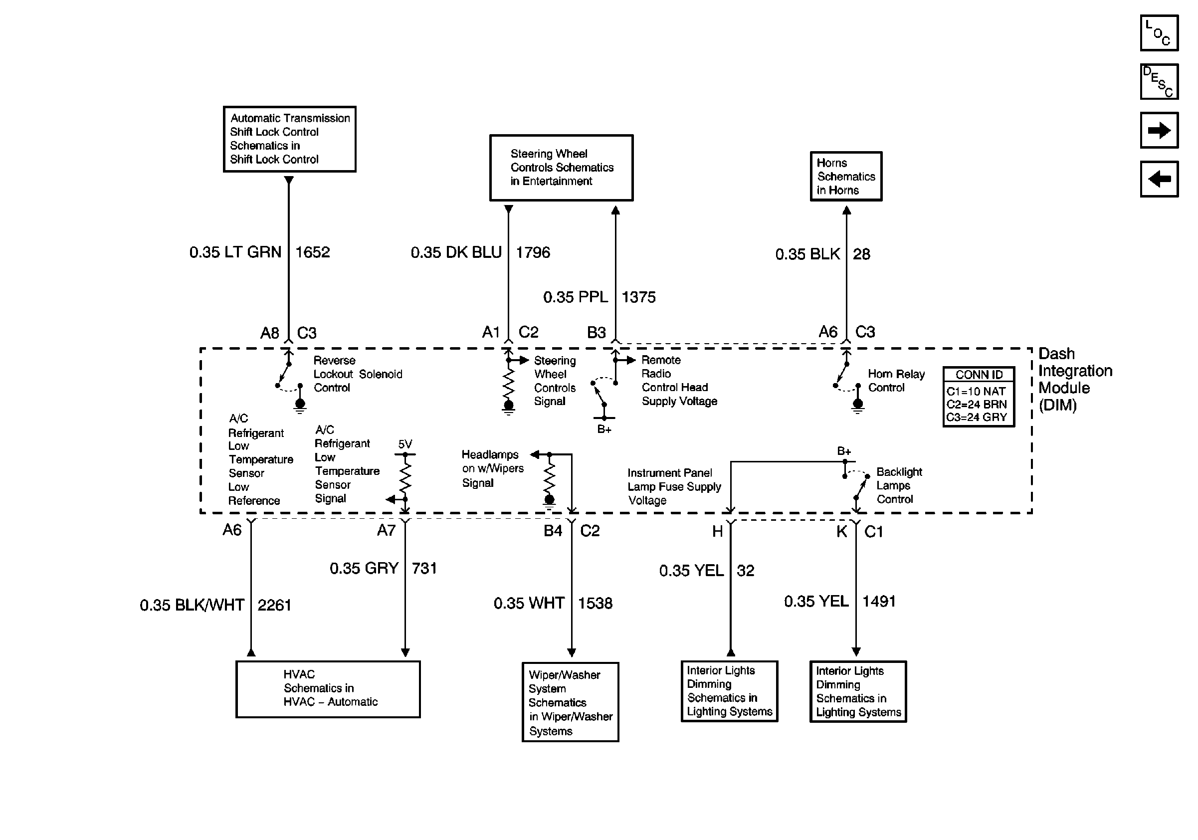
🢒 DIM Input/Output (2 of 2)
DIM Input/Output (2 of 2)
DIM Input/Output (2 of 2)
Master Electrical Component List
Body Control System Description and Operation
IPM Power and Grounds
DIM Input/Output (1 of 2)
Reverse Lockout Control
Steering Wheel Controls
Horns
Compressor Control W/LX5 (V6)
Windshield Wiper Switch and Fuse
Dimming Control
Instrument Panel/Console Dimming