GM Service Manual Online
For 1990-2009 cars only
Makes
🢒
Oldsmobile
🢒
2002
🢒
Aurora
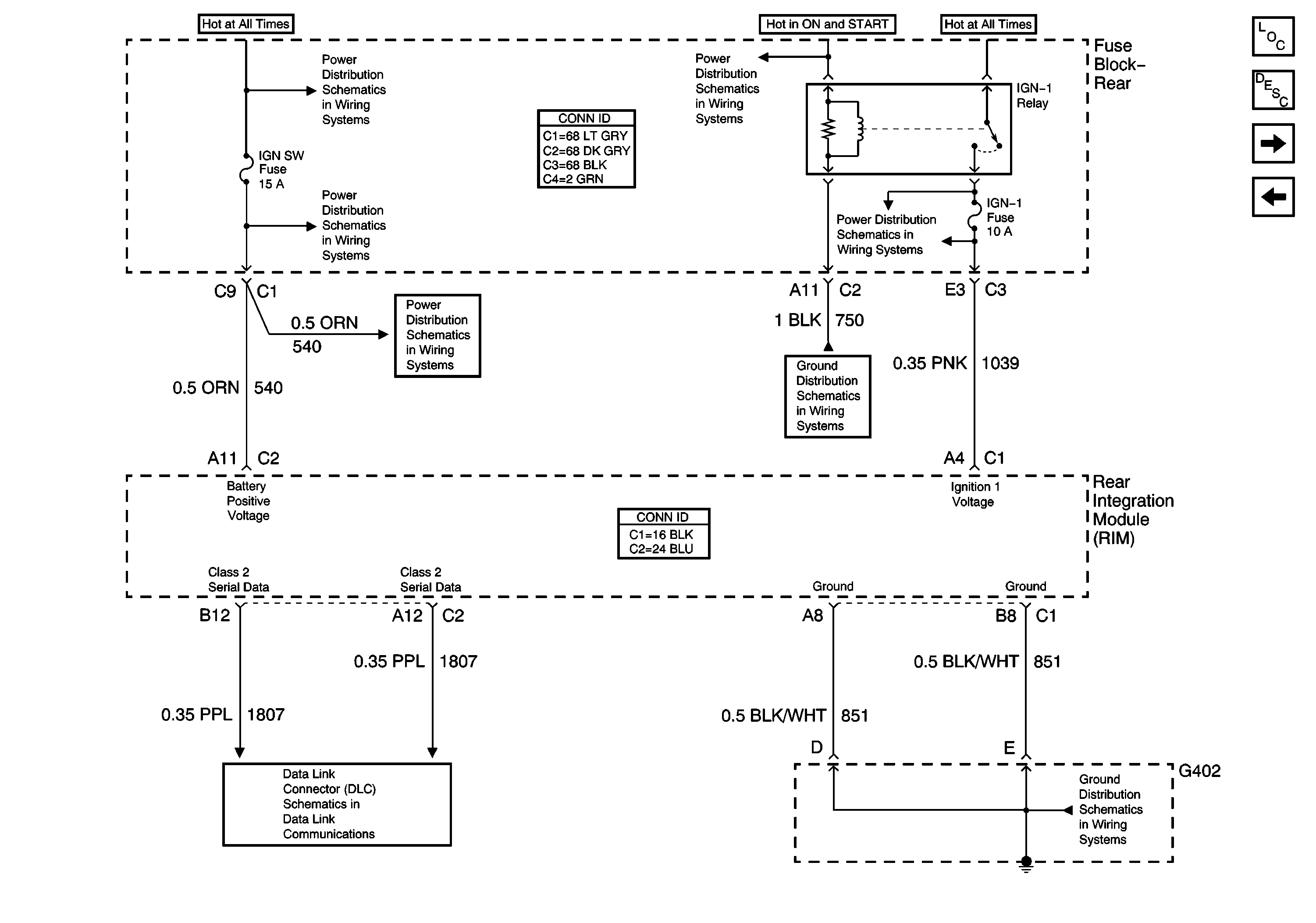
🢒 RIM Power and Grounds
RIM Power and Grounds
RIM Power and Grounds
Master Electrical Component List
Body Control System Description and Operation
Rim Input/Output (1 of 2)
IPM Input/Output (2 of 2)
IGN SW Fuse (Fuse Block-Rear)
IGN SW Fuse (Fuse Block-Rear)
Serial Data Class 2
G302
IGN-1, VENT SOL, SIR Fuses and IGN 1 Relay (Fuse Block-Rear)
IGN SW (Fuse Block-Rear)
Battery Feed to the Fuse Block-Rear
G402