GM Service Manual Online
For 1990-2009 cars only
Makes
🢒
Oldsmobile
🢒
2002
🢒
Aurora
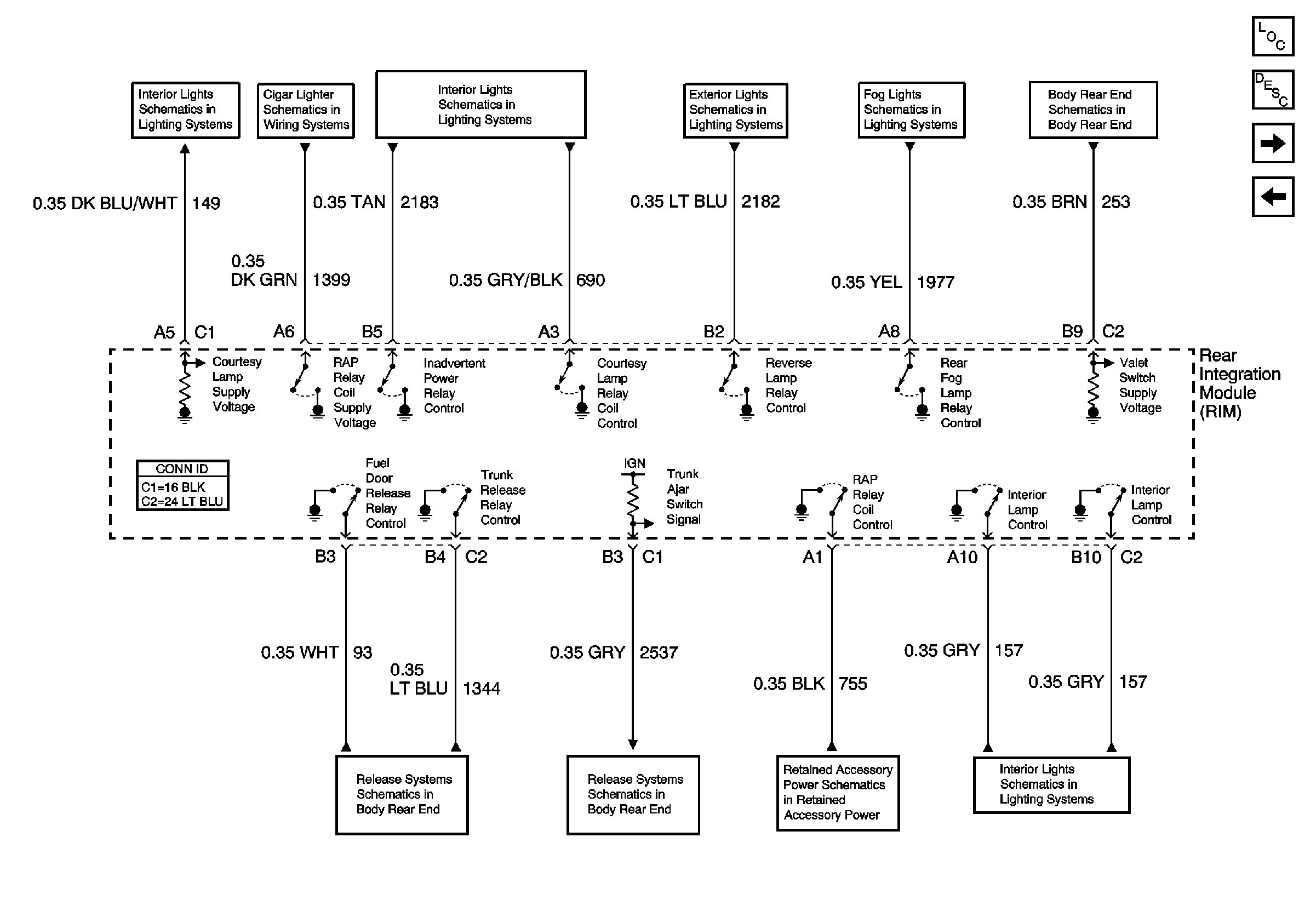
🢒 Rim Input/Output (1 of 2)
Rim Input/Output (1 of 2)
Rim Input/Output (1 of 2)
Master Electrical Component List
Body Control System Description and Operation
RIM Input/Output (2 of 2)
RIM Power and Grounds
Courtesy Lamps-Right
Cigar Lighter/Auxiliary Outlets
Interior and Front Courtesy Lamp Relays
Backup Lamps
Fog Lamps-Rear
Fuel Door, Decklid Release and Rear Compartment Lamp (1 of 2)
Fuel Door, Decklid Release and Rear Compartment Lamp (1 of 2)
Retained Accessory Power (RAP)
Courtesy Lamps-Right
Fuel Door, Decklid Release and Rear Compartment Lamp (2 of 3)w/ Rear Compartment Entrapment Protection