GM Service Manual Online
For 1990-2009 cars only

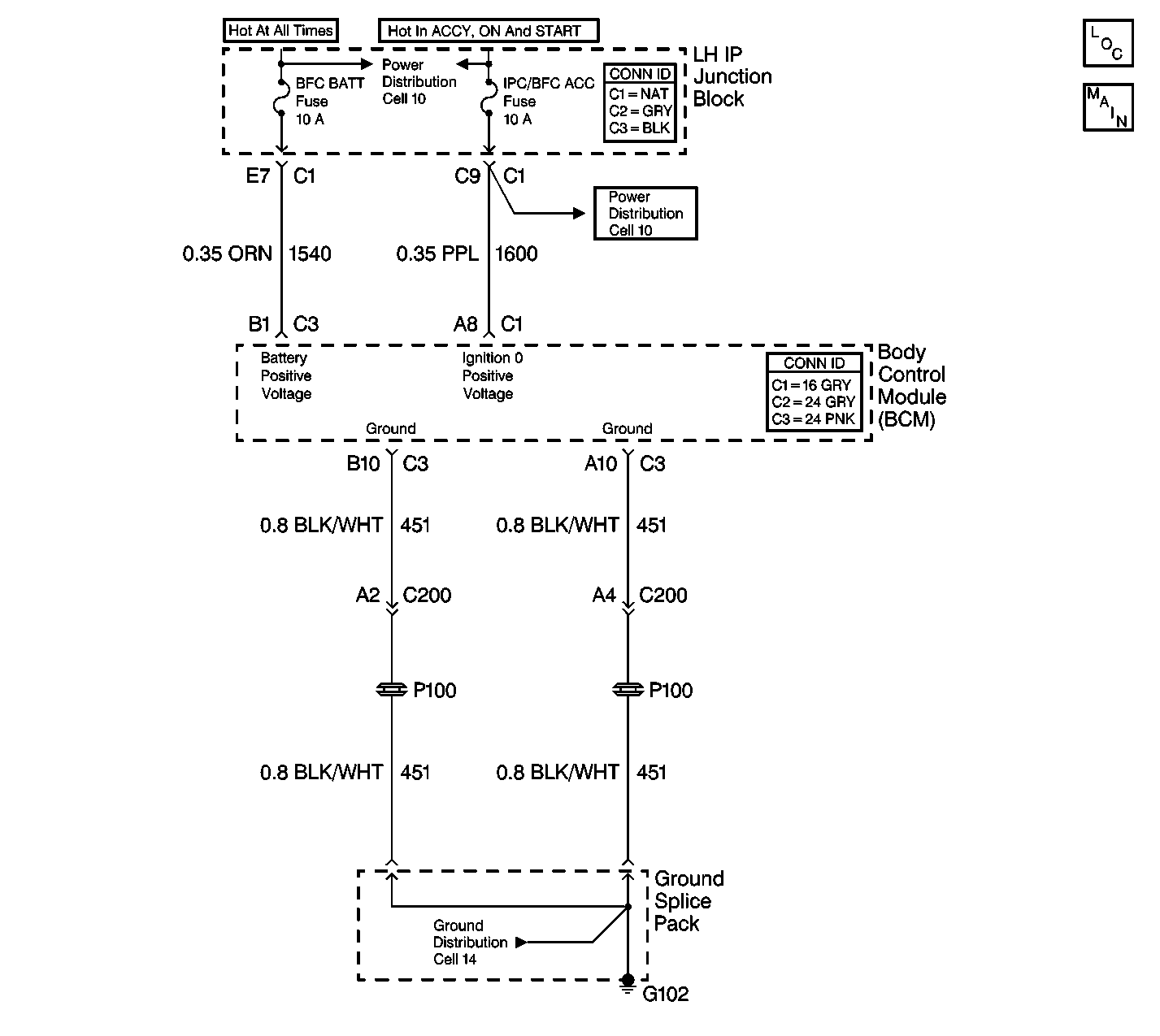
Object Number: 284884  Size: LF
Body Control Module Components
Cell 51: SDM, Washer Solvent Level Sensor, Seat Belt and Park Brake Switches

Circuit Description

This is the hardware Ignition 0, CKT 1600 input to the body control module (BCM) or the instrument cluster. They can be either in the ON or OFF position from the ignition switch.

Conditions for Setting the DTC

All of the following conditions must be met:

  1. Ignition 0 is not active.
  2. Ignition 1 is active for 20 seconds.

Action Taken When the DTC Sets

DTC B1369 is stored in the BCM memory.

Conditions for Clearing the DTC

    • The BCM goes to sleep. The controller reinitializes with the fault cleared.
    • All BCM history codes will be cleared after 100 ignition cycles (from OFF to RUN) with no current codes active during the 100 ignition cycles.
        Use the Scan Tool .

Diagnostic Aids

    • If the fuel gauge is always reading empty, the problem lies within the BCM or the wiring to the BCM.
    • The instrument cluster will not function if Ignition 0 is not present in the vehicle.
    • When the diagnostics direct you to take electrical measurements at the terminal assignments of the junction blocks, refer to Power Distribution Schematics in Wiring Systems.
    • If the DTC is a history DTC, the problem may be intermittent. Perform the tests shown while wiggling the wiring and connectors. This can often cause the malfunction to appear.

Test Description

The numbers listed below refer to the numbers on the diagnostic table.

  1. This step determines if CKT 1600 is delivering power to the body control module (BCM).

  2. This step determines if there is an open in CKT 1600 between the BCM and the left side IP junction block.

Step

Action

Value(s)

Yes

No

1

Was the BCM Diagnostic System Check performed?

--

Go to Step  2

Go to Body Control Module System Check

2

  1. Disconnect the BCM connector C1.
  2. Turn the ignition switch to the ACC or RUN positions.
  3. Use the J 39200 DMM in order to measure the voltage in CKT 1600 between the BCM harness connector C1 terminal A8 and ground.

Is the voltage measured to the specified value?

B+

Go to Step  3

Go to Step  6

3

Inspect for a poor connection at the BCM harness connector C1 terminal A8.

Was there a poor connection found?

--

Go to Step  4

Go to Step  5

4

Repair the poor connection. Refer to Wiring Repairs in Wiring Systems.

Is the repair complete?

--

Go to Step  11

--

5

Replace the BCM. Refer to the following procedures:

Is the repair complete?

--

Go to Step  11

--

6

  1. Disconnect the left side IP junction block connector C1.
  2. Use J 39200 DMM in order to measure the resistance in CKT 1600 between the BCM harness connector C1 terminal A8 and the left side IP junction block connector C1 terminal C9.

Is the measured resistance within the specified range?

0-2ohms

Go to Step  8

Go to Step  7

7

Repair an open in CKT 1600 between the left side IP junction block connector  C1 terminal C9 and the BCM harness connector C1 terminal A8. Refer to Wiring Repairs in Wiring Systems.

Is the circuit repair complete?

--

Go to Step  11

--

8

Inspect for a poor connection at the left side IP junction block connector C1 terminal C9, CKT 1600.

Was there a poor connection found?

--

Go to Step  9

Go to Step  10

9

Repair the poor connection at the left side IP junction block connector C1 terminal C9, CKT 1600. Refer to Wiring Repairs in Wiring Systems.

Is the circuit repair complete?

--

Go to Step  11

--

10

Replace the left side IP junction block. Refer to Relay/Fuse Center Replacement in Wiring Systems.

Is the circuit repair complete?

--

Go to Step  11

--

11

Clear the DTCs from the memory.

Are the DTCs cleared from the memory?

--

Go to Body Control Module System Check

--