GM Service Manual Online
For 1990-2009 cars only
Makes
🢒
Oldsmobile
🢒
1999
🢒
Eighty Eight
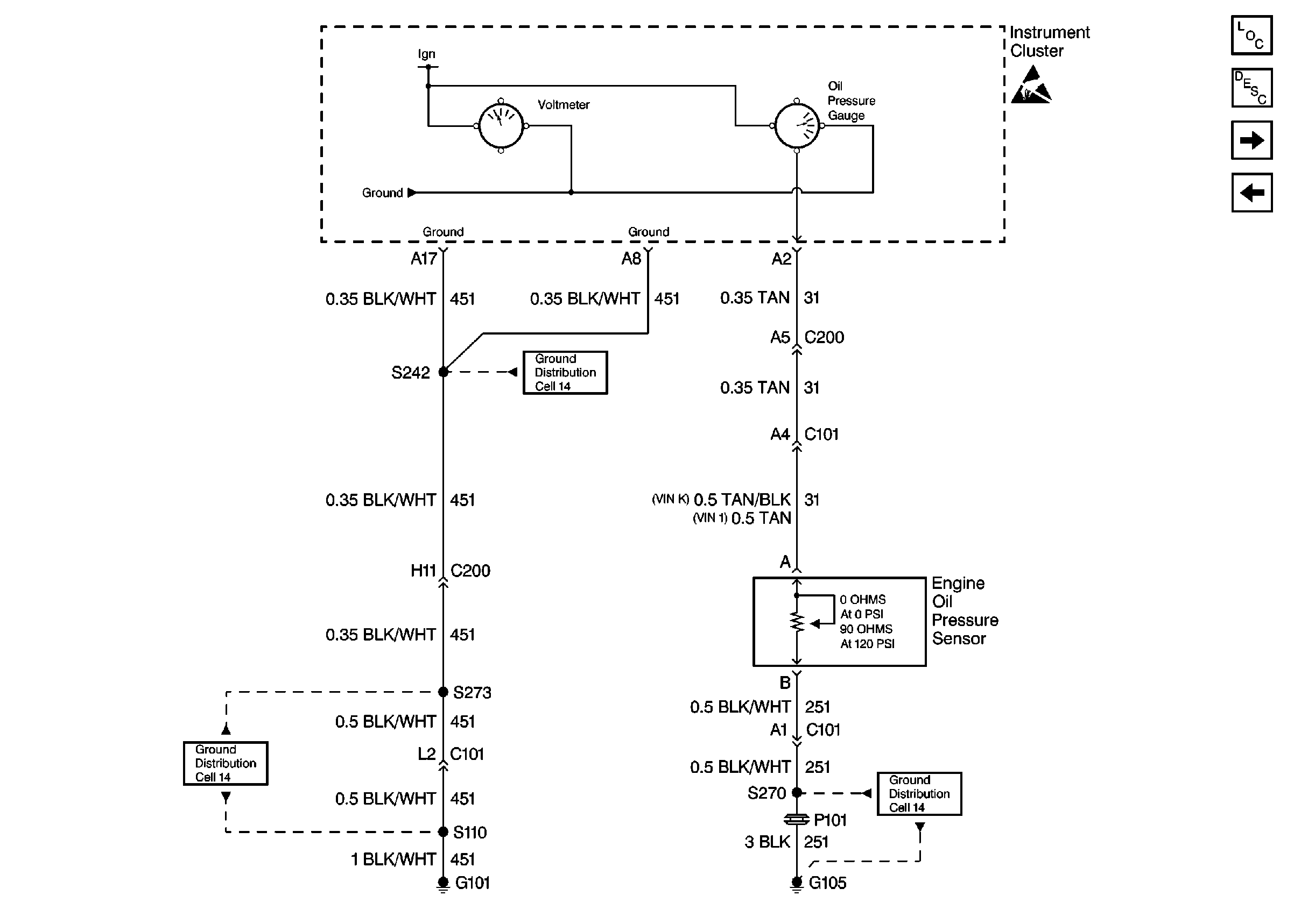
🢒 Cell 81: Engine Oil Pressure Sensor
Cell 81: Engine Oil Pressure Sensor
Cell 81: Engine Oil Pressure Sensor
Instrument Cluster and HUD Components
Instrument Cluster Circuit Description
Cell 81: Fuel Tank Unit
Cell 81: Pontiac with UB3
Handling ESD Sensitive Parts Notice
Ground Distribution Schematics
Ground Distribution Schematics
Ground Distribution Schematics