GM Service Manual Online
For 1990-2009 cars only
Makes
🢒
Oldsmobile
🢒
1999
🢒
Eighty Eight
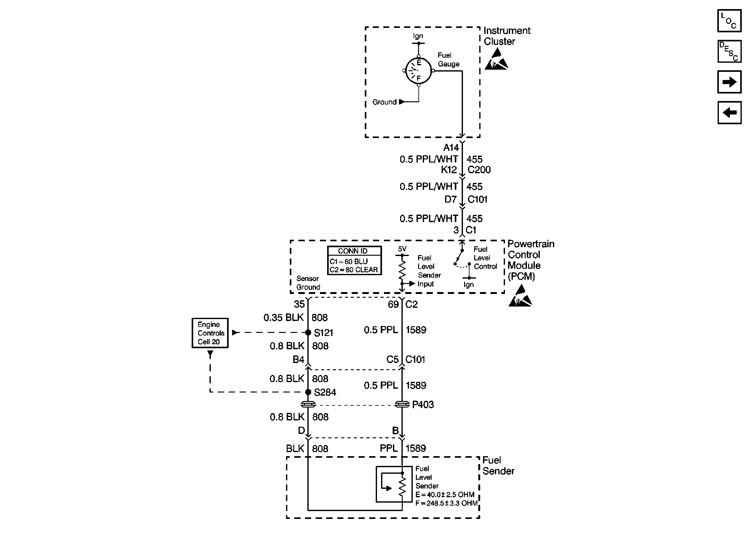
🢒 Cell 81: Fuel Tank Unit
Cell 81: Fuel Tank Unit
Cell 81: Fuel Tank Unit
Instrument Cluster and HUD Components
Instrument Cluster Circuit Description
Cell 81: Windshield Washer Fluid Level Switch
Cell 81: Engine Oil Pressure Sensor
Handling ESD Sensitive Parts Notice
Handling ESD Sensitive Parts Notice
Engine Controls Schematics
Powertrain Control Module Connector End Views