GM Service Manual Online
For 1990-2009 cars only
Makes
🢒
Oldsmobile
🢒
1999
🢒
Eighty Eight
🢒 Cell 81: Brake Indicator
Cell 81: Brake Indicator
Cell 81: Brake Indicator
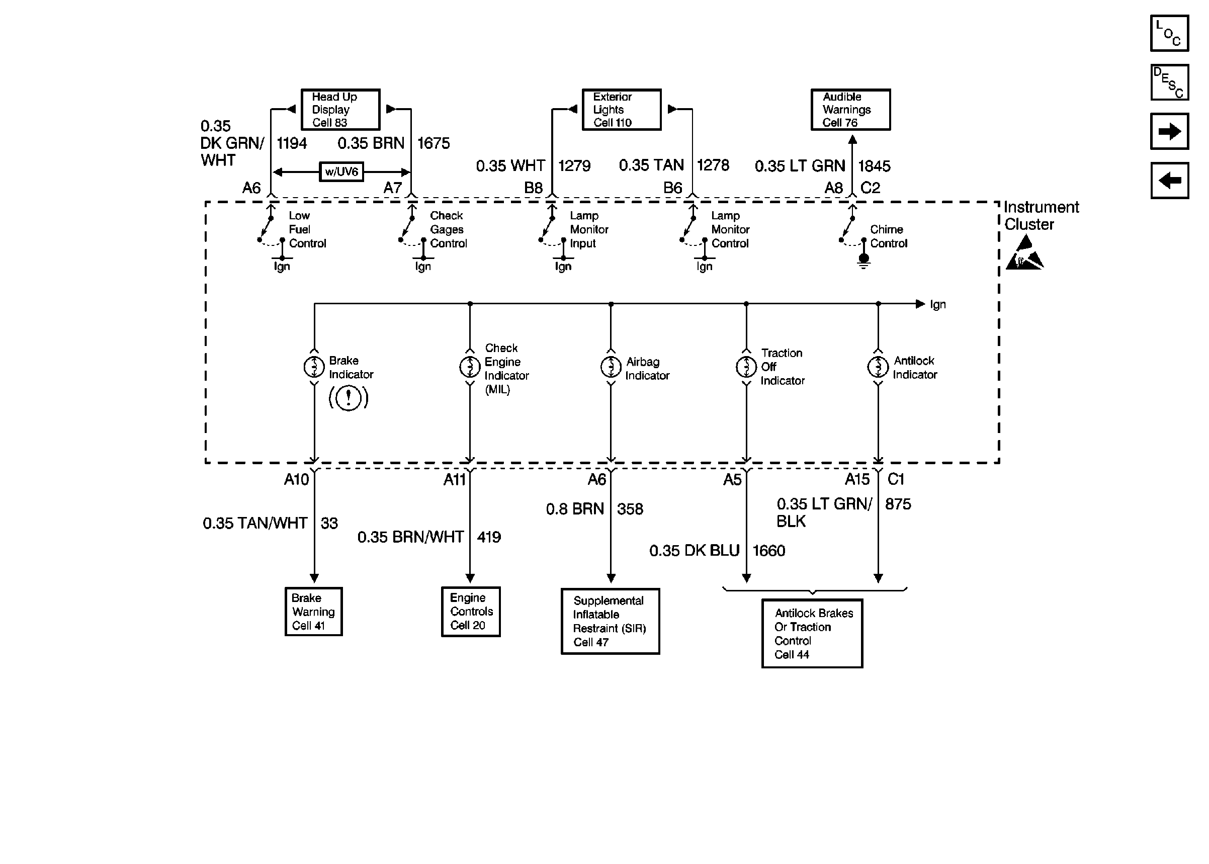
Instrument Cluster and HUD Components
Instrument Cluster Circuit Description
Cell 81: Instrument Cluster Illumination Lights
Cell 81: Hood Ajar Switch
Handling ESD Sensitive Parts Notice
Audible Warnings Schematics
Brake Warning System Schematics Oldsmobile
Engine Controls Schematics
SIR Schematics
Antilock Brake System Schematics
Exterior Lights Schematics Pontiac w/ U50 or U2F
Head Up Display Schematics