GM Service Manual Online
For 1990-2009 cars only
Makes
🢒
Oldsmobile
🢒
1999
🢒
Eighty Eight
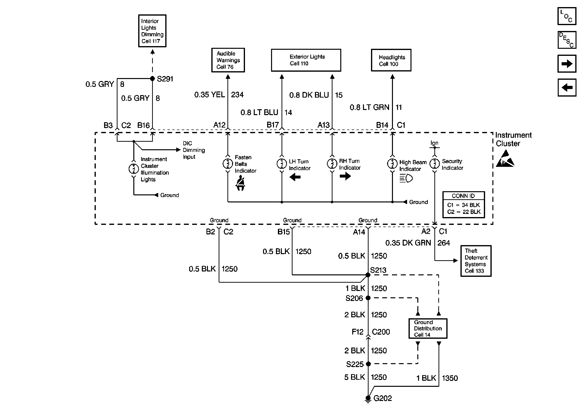
🢒 Cell 81: Instrument Cluster Illumination Lights
Cell 81: Instrument Cluster Illumination Lights
Cell 81: Instrument Cluster Illumination Lights
Instrument Cluster and HUD Components
Instrument Cluster Circuit Description
Cell 81: Brake Indicator
Ground Distribution Schematics
Interior Lights Dimming Schematics Buick
Audible Warnings Schematics
Headlights Schematics Pontiac
Theft Deterrent System Schematics
Instrument Cluster and HUD Connector End Views
Handling ESD Sensitive Parts Notice
Exterior Lights Schematics Pontiac w/ U50 or U2F