GM Service Manual Online
For 1990-2009 cars only
Makes
🢒
Oldsmobile
🢒
1998
🢒
Intrigue
🢒
Brakes
🢒
Hydraulic Brakes
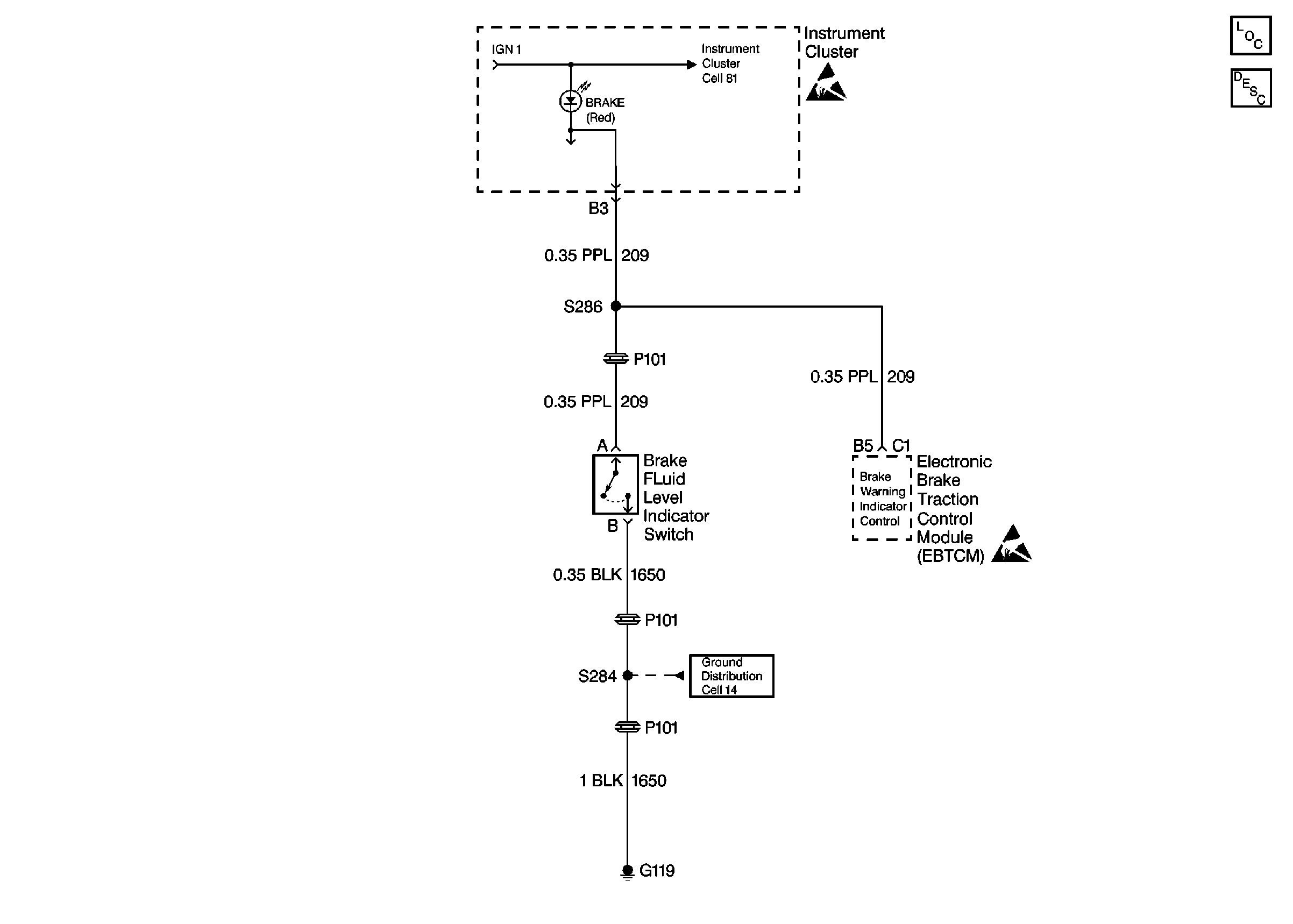
🢒 Brake Warning System Schematics
Cell 41
Hydraulic Brakes Components
Brake Warning System Circuit Description
Cell 81: Power Distribution, Ground Distribution and Trip Odometer Reset Switch
Cell 14: Engine Compartment Ground G119
Handling Electrostatic Discharge Sensitive Parts Notice
Handling Electrostatic Discharge Sensitive Parts Notice