GM Service Manual Online
For 1990-2009 cars only

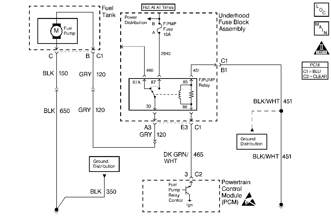
Object Number: 293685  Size: MF
Fuel Tank, FTP Sensor, Fuel Pump
Engine Controls Components
OBD II Symbol Description Notice
ESD Notice

Circuit Description

The PCM controls the fuel pump relay by supplying switched ignition voltage to the fuel pump relay coil. When the ignition switch is first turned On, the PCM energizes the fuel pump relay. The relay contacts close applying power to the fuel pump. The fuel pump relay will remain On as long as the engine is running or cranking and the PCM is receiving reference pulses. If no reference pulses are present, the PCM de-energizes the fuel pump relay within 2 seconds. With the engine stopped, the fuel pump can be turned On with a scan tool.

If the PCM detects a problem on the relay control circuit, DTC P0230 will set. Use this table if DTC P0230 is not set and a problem exists with the fuel pump.

Diagnostic Aids

Notice: Use the connector test adapter kit J 35616-A for any test that requires probing the following items:

   • The PCM harness connectors
   • The electrical center fuse/relay cavities
   • The component terminals
   • The component harness connector
Using this kit will prevent damage caused by the improper probing of connector terminals.

If the problem is intermittent, refer to Intermittent Conditions .

Test Description

Number(s) below refer to the step number(s) on the Diagnostic Table:

  1. Verifies whether or not a fault is present at this time.

  2. The P0230 diagnostic handles the control portion of the relay circuit. If DTC P0230 is set, perform that diagnostic first.

  3. Check for poor connections/terminal tension at the fuse. Refer to Intermittents and Poor Connections Diagnosis .

Fuel Pump Relay Circuit Diagnosis

Step

Action

Value(s)

Yes

No

1

Did you perform the Powertrain On-Board Diagnostic (OBD) System Check?

--

Go to Step 2

Go to the Powertrain On Board Diagnostic (OBD) System Check

2

Turn the fuel pump on using the scan tool.

Is the fuel pump running?

--

Refer to Diagnostic Aids .

Go to Step 3

3

Is DTC P0230 set?

--

Go to DTC P0230 Fuel Pump Relay Control Circuit .

Go to Step 4

4

Check the fuel pump system fuse.

Is the fuse OK?

--

Go to Step 9

Go to Step 5

5

  1. Disconnect the fuel pump relay.
  2. Connect DMM J 39200 to battery ground and probe the B+ circuit at the relay connector.

Is the resistance more than the specified value?

2 Ohms

Go to Step 6

Go to Step 13

6

  1. Disconnect the fuel pump.
  2. Connect DMM J 39200 to battery ground and probe the fuel pump feed circuit at the relay connector.

Is the resistance more than the specified value?

2 Ohms

Go to Step 7

Go to Step 14

7

  1. Replace the fuse.
  2. Reconnect the relay.
  3. Turn the relay on and off with the scan tool.
  4. Recheck the fuse.

Is the fuse OK?

--

Go to Step 8

Go to Step 19

8

  1. Reconnect the fuel pump.
  2. Turn the relay on and off with the scan tool.
  3. Recheck the fuse.

Is the fuse OK?

--

Refer to Diagnostic Aids.

Go to Step 21

9

  1. Disconnect the fuel pump relay.
  2. Probe the B+ feed circuit in the relay connector with test lamp J 35616-200 connected to ground.

Is the test lamp on?

--

Go to Step 10

Go to Step 15

10

Connect the B+ feed circuit to the fuel pump feed circuit in the relay connector using a 15 Amp fused jumper.

Is the fuel pump running?

--

Go to Step 18

Go to Step 11

11

  1. Leave the fused jumper in place.
  2. Raise the vehicle.
  3. Disconnect the fuel pump electrical connector.
  4. Connect test light J 35616-200 between the feed circuit and the ground circuit in the fuel pump connector (harness side).

Is the test light on?

--

Go to Step 20

Go to Step 12

12

  1. Move the ground clip of the test light J 35616-200 to a known good ground.
  2. Probe the feed circuit in the fuel pump connector (harness side).

Is the test light on?

--

Go to Step 17

Go to Step 16

13

Repair the short to ground in the B+ feed circuit to the relay.

Is the action complete?

--

Go to Step 22

--

14

Repair the short to ground in the fuel pump feed circuit.

Is the action complete?

--

Go to Step 22

--

15

Repair the open/high resistance B+ feed circuit to the relay.

Is the action complete?

--

Go to Step 22

--

16

Repair the open/high resistance fuel pump feed circuit.

Is the action complete?

--

Go to Step 22

--

17

Repair the open/high resistance fuel pump ground circuit.

Is the action complete?

--

Go to Step 22

--

18

Check for poor connections/terminal tension at the relay connector. Refer to Intermittents and Poor Connections Diagnosis .

Was a problem found and corrected?

--

Go to Step 22

Go to Step 19

19

Replace the relay.

Is the action complete?

--

Go to Step 22

--

20

Check for poor connections/terminal tension at the fuel pump connector. Refer to Intermittents and Poor Connections Diagnosis .

Was a problem found and corrected?

--

Go to Step 22

Go to Step 21

21

Replace the fuel pump.

Is the action complete?

--

Go to Step 22

--

22

Turn the fuel pump on using the scan tool.

Is the fuel pump running?

--

System OK

Go to Step 2