GM Service Manual Online
For 1990-2009 cars only

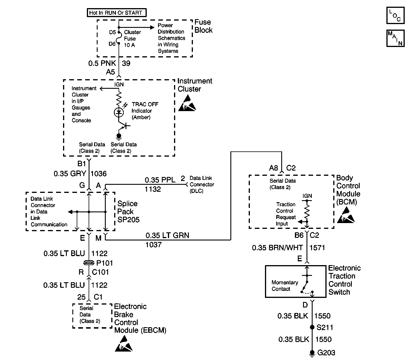
Object Number: 594864  Size: LF
ABS Components
Instrument Cluster Indicators, Traction Control System, and Serial Data

Circuit Description

The TRAC OFF indicator is controlled by the EBCM by sending class 2 messages to the instrument panel cluster (IPC). It is turned on when the EBCM sets a DTC that turns on the TRAC OFF indicator. It is also turned on or off when the traction control switch is pressed. The body control module (BCM) receives the input from the traction control switch, the BCM then sends a class 2 message to the EBCM telling the EBCM the state of the switch. The BCM supplies 12 volts to the TCS switch, when the TCS switch is pressed the BCM sees the voltage go low and sends the EBCM the message that the TCS switch state has changed. When the EBCM receives the message from the BCM that the switch state has changed, the EBCM turns on or off traction control and sends a message to the IPC to turn on or off the TRAC OFF indicator depending on its previous state.

Test Description

The numbers below refer to step numbers on the diagnostic table.

  1. Checks if the body control module is receiving a traction control switch input.

  2. Checks if the EBTCM is receiving a traction control switch message from the body control module.

  3. Checks if the body control module or the traction control switch is at fault.

Traction Off Indicator Inoperative with No DTC Set

Step

Action

Value(s)

Yes

No

DEFINITION: The TRAC OFF indicator does not come on when the traction control switch is pressed to disable the traction control system.

1

Was the ABS Diagnostic System Check performed?

--

Go to Step 2

Go to Diagnostic System Check - ABS

2

  1. Turn the ignition switch to the ON position, engine off.
  2. Using a scan tool in the Body Control Module Data Display read the TCS Switch state as you press and release the TCS switch.

Does the TCS switch state change properly as the switch is pressed and released?

--

Go to Step 3

Go to Step 9

3

Using a scan tool in ABS/TCS Data Display, read the TCS Switch Status as you press and release the TCS Switch.

Does the TCS Switch state change properly as the switch is pressed and released?

--

Go to Step 5

Go to Step 4

4

Replace the EBCM. Refer to Electronic Brake and Traction Control Module Replacement .

Is the replacement complete?

--

Go to Diagnostic System Check - ABS

--

5

Using a scan tool in the Instrument Panel (IPC) Special Functions attempt to turn the TRAC OFF indicator on.

Did the TRAC OFF indicator turn on?

--

Go to Step 4

Go to Step 6

6

  1. Turn the ignition switch to the OFF position.
  2. Check the TRAC OFF indicator bulb. Refer to Instrument Cluster Bulb Replacement in Instrument Panel, Gauges and Console.

Is the TRAC OFF indicator bulb OK?

--

Go to Step 8

Go to Step 7

7

Replace the TRAC OFF Indicator bulb. Refer to Instrument Cluster Bulb Replacement in Instrument Panel, Gauges and Console.

Is the replacement complete?

--

Go to Diagnostic System Check - ABS

--

8

Replace the instrument panel cluster. Refer to Instrument Cluster Replacement in Instrument Panel, Gauges and Console.

Is the replacement complete?

--

Go to Diagnostic System Check - ABS

--

9

  1. Remove the traction control switch and disconnect the connector. Refer to Traction Control Switch Replacement in Instrument Panel, Gauges and Console.
  2. Using a scan tool in the Body Control Module Data Display read the TCS switch status.
  3. Connect a jumper wire between terminals E and D of the traction control switch harness connector.

Does the TCS switch status read pressed with the jumper wire connected?

--

Go to Step 10

Go to Step 11

10

Replace the traction control switch. Refer to Electronic Traction Control Switch Replacement in Instrument Panel, Gauges and Console.

Is the replacement complete?

--

Go to Diagnostic System Check - ABS

--

11

  1. Turn the ignition switch to the OFF position.
  2. Using DMM, measure the resistance between the traction control switch harness connector terminal  D and ground.

Is the resistance within the range specified in the value(s) column?

0-5 ohms

Go to Step 13

Go to Step 12

12

Repair CKT 1550 for an open or high resistance. Refer to Wiring Repairs in Wiring Systems.

Is the repair complete?

--

Go to Diagnostic System Check - ABS

--

13

  1. Disconnect the body control module connector C 2.
  2. Using DMM, measure the resistance between the traction control switch harness connector terminal E and the body control module connector C2 terminal A11.

Is the resistance within the range specified in the value(s) column?

0-5 ohms

Go to Step 15

Go to Step 14

14

Repair CKT 1571 for an open or high resistance. Refer to Wiring Repairs in Wiring Systems.

Is the repair complete?

--

Go to Diagnostic System Check - ABS

--

15

Replace the body control module. Refer to Body Control Module Replacement in Body Control System.

Is the replacement complete?

--

Go to Diagnostic System Check - ABS

--