GM Service Manual Online
For 1990-2009 cars only
Makes
🢒
Oldsmobile
🢒
2000
🢒
Intrigue
🢒
Body and Accessories
🢒
Doors
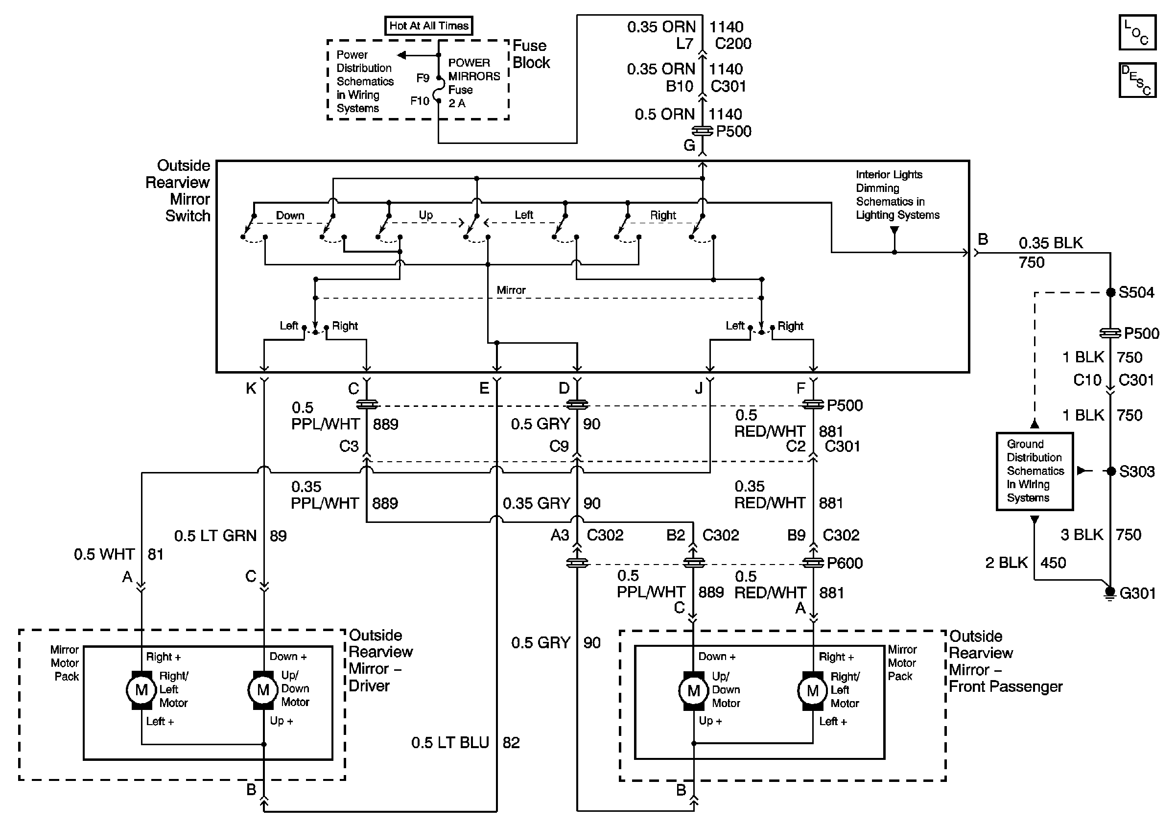
🢒 Outside Rearview Mirror Schematics
High Blower, Hazard, Stop Lamps, Door Locks and Power Mirrors Fuses
Sunshade Mirror Lamps, Rear View Mirror Lamp and Roof Rail Courtesy/Reading Lamp
Sunshade Mirror Lamps, Rear View Mirror Lamp and Roof Rail Courtesy/Reading Lamp
Power Door Systems Components
Outside Mirrors Circuit Description