GM Service Manual Online
For 1990-2009 cars only
Makes
🢒
Oldsmobile
🢒
2000
🢒
Intrigue
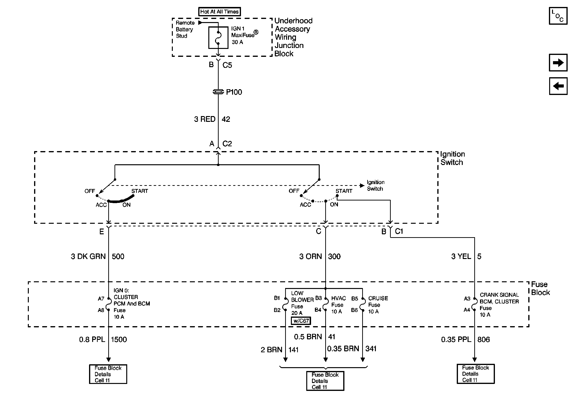
🢒 Cell 10: IGN 1 MaxiFuse®, and Ignition Switch
Cell 10: IGN 1 MaxiFuse®, and Ignition Switch
Cell 10: IGN 1 MaxiFuse®, and Ignition Switch
Power and Grounding Components
Cell 10: Underhood Accessory Wiring Junction Block
Cell 10: IGN 2 MaxiFuse®, and Ignition Switch
Cell 10: ABS, CRANK SIGNAL BCM CLUSTER, HEATED MIRROR, and IGN 0:CLUSTER PCM & BCM Fuses
Cell 10: CRUISE, HVAC, and LOW BLOWER Fuses
Cell 10: ABS, CRANK SIGNAL BCM CLUSTER, HEATED MIRROR, and IGN 0:CLUSTER PCM & BCM Fuses
Cell 10: Battery, Generator, EBTCM, and Underhood Accessory Wiring Junction Block
Cell 10: IGN 2 MaxiFuse®, and Ignition Switch