GM Service Manual Online
For 1990-2009 cars only
Makes
🢒
Oldsmobile
🢒
2000
🢒
Intrigue
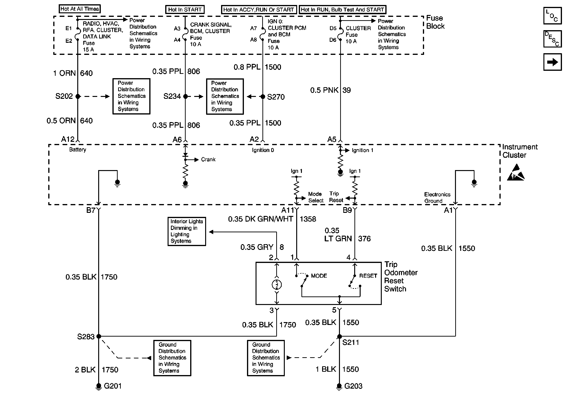
🢒 Power and Grounds, Trip Odometer Reset
Power and Grounds, Trip Odometer Reset
Power and Grounds, Trip Odometer Reset
Instrument Cluster Components
Instrument Cluster Circuit Description
Interior Lights Dimming Inputs, Windshield Washer Solvent Level SwItch Input, and Serial Data