GM Service Manual Online
For 1990-2009 cars only
Makes
🢒
Oldsmobile
🢒
2000
🢒
Intrigue
🢒 Gauges and Indicators (Serial Data)
Gauges and Indicators (Serial Data)
Gauges and Indicators (Serial Data)
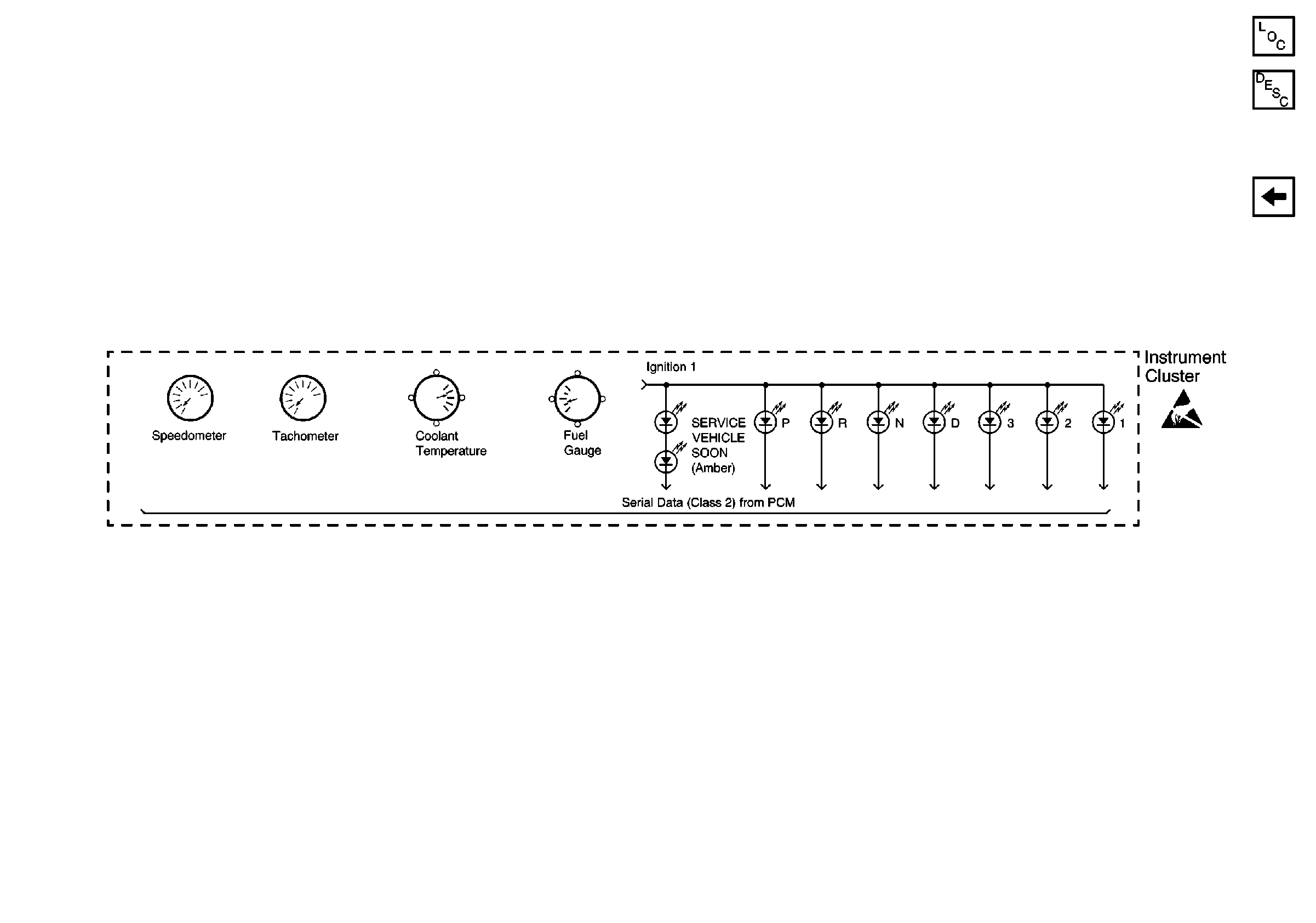
Instrument Cluster Components
Instrument Cluster Circuit Description
Brake Fluid Level Indicator Switch Input