GM Service Manual Online
For 1990-2009 cars only
Makes
🢒
Oldsmobile
🢒
2000
🢒
Intrigue
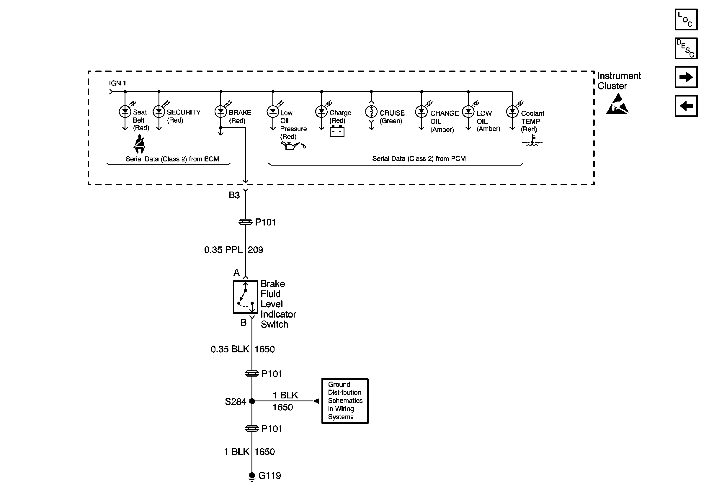
🢒 Brake Fluid Level Indicator Switch Input
Brake Fluid Level Indicator Switch Input
Brake Fluid Level Indicator Switch Input
Instrument Cluster Components
Instrument Cluster Circuit Description
Gauges and Indicators (Serial Data)
Low Engine Coolant Level Switch Input and MIL Input