GM Service Manual Online
For 1990-2009 cars only

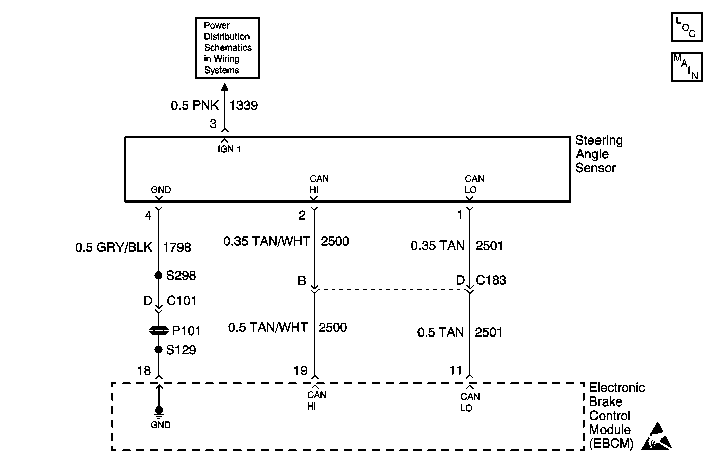
Object Number: 598281  Size: MF
ABS Components
Precision Control System (PCS) (RPO JL4)

Circuit Description

Under normal driving conditions, the EBCM monitors the steering angle sensor inputs to see if the steering wheel is moving. If the steering wheel is not moving for a set period of time, the EBCM assumes the vehicle is going in a straight line. At this point, the EBCM looks at the steering angle sensor inputs and considers the degree angle to be zero. This is called the offset value.

Steer angle centering is the process by which the EBCM calibrates the steering sensor output so that the output reads zero when the steering wheel is centered.

Conditions for Running the DTC

    • The ignition is ON.
    • The vehicle speed is greater than 40 km/h (25 mph).

Conditions for Setting the DTC

A malfunction is detected if one or more of the following conditions exist:

    • The steering angle sensor detects an internal malfunction and sends a CAN message to the EBCM.
    • If the offset value is higher than 15 degrees, a malfunction is detected. Malfunction time depends on driving distance, vehicle speed and the amount of malfunctioning steering angle signal.
    • Rapid changes of the steering angle sensor signal cannot occur under normal driving conditions. If the signal change is higher than 2000 degrees per second or steering angle acceleration is higher than 37500 degrees per second squared, a malfunction is detected.
    • A reference steering angle signal based on a vehicle model is used to check the actual steering angle. If the measured steering angle varies from the reference steering angle by more than a predetermined value, a malfunction is detected.

Action Taken When the DTC Sets

    • A malfunction DTC is set
    • TCS and VSES are disabled
    • TCS, SERVICE VEHICLE SOON and PCS lamp indicators turn on

Conditions for Clearing the DTC

    • The condition for the DTC is no longer present.
    • A history DTC will clear after 124 consecutive ignition cycles if the condition for the malfunction is no longer present.
    • Using a scan tool.
    • The EBCM automatically clears the history DTC when a current DTC is not detected in 100 consecutive drive cycles.

Diagnostic Aids

Perform the steering angle sensor centering procedure.

Test Description

The number(s) below refer to the step number(s) on the diagnostic table.

  1. Checks to see if any other DTC is set.

  2. Checks to see if steering angle sensor is centered.

Step

Action

Value(s)

Yes

No

1

Did you perform the ABS Diagnostic System Check?

--

Go to Step 2

Go to Diagnostic System Check - ABS

2

  1. Turn OFF the ignition.
  2. Install a scan tool.
  3. Turn ON the ignition, with the engine OFF.
  4. Select the ABS DTC display function.

Does the scan tool display any DTC other than DTC C0710?

--

Go to Diagnostic Trouble Code (DTC) List

Go to Step 3

3

Perform the steering angle sensor centering procedure. Refer to Steering Angle Sensor Centering .

Did you successfully complete the centering procedure?

--

Go to Step 4

Go to Step 5

4

  1. Use the scan tool in order to clear the DTCs.
  2. Test drive the vehicle. Refer to Diagnostic Test Drive .

Did DTC C0710 reset?

--

Go to Step 6

Go to Diagnostic Aids

5

Replace the steering angle sensor. Refer to Steering Shaft, Lower Bearing, and Jacket - Disassemble - Off Vehicle in Steering Wheel and Column - Tilt.

Did you complete the replacement?

--

Go to Step 7

--

6

Replace the EBCM. Refer to Electronic Brake and Traction Control Module Replacement .

Did you complete the replacement?

--

Go to Step 7

--

7

  1. Use the scan tool in order to clear the DTCs.
  2. Operate the vehicle within the Conditions for Running the DTC as specified in the supporting test.

Does the DTC reset?

--

Go to Step 2

System OK