GM Service Manual Online
For 1990-2009 cars only
Makes
🢒
Oldsmobile
🢒
2001
🢒
Intrigue
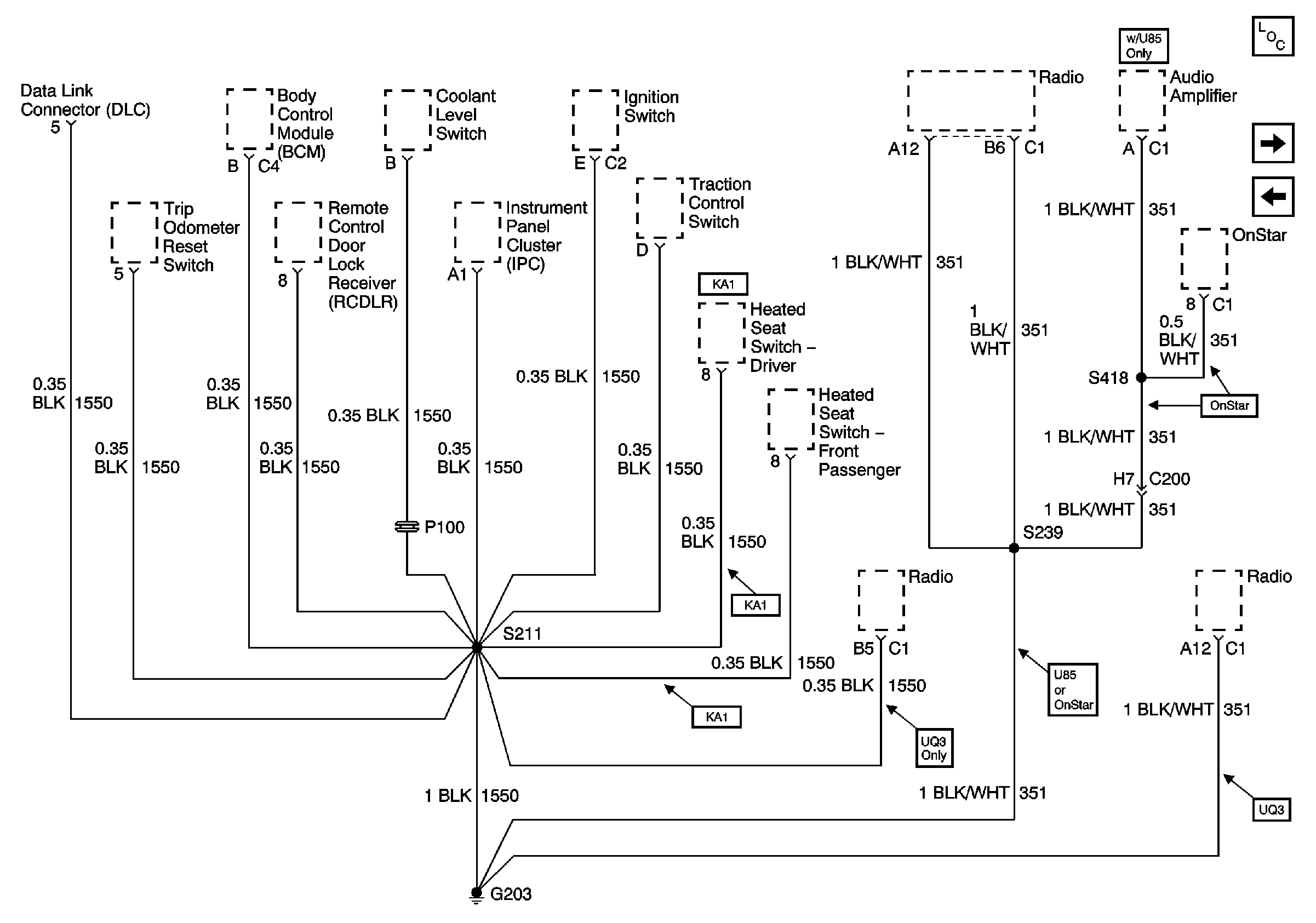
🢒 Ground G203
Ground G203
Ground G203
Master Electrical Component List original
Ground G301 (1 of 3)
Ground G201