GM Service Manual Online
For 1990-2009 cars only
Makes
🢒
Oldsmobile
🢒
2002
🢒
Intrigue
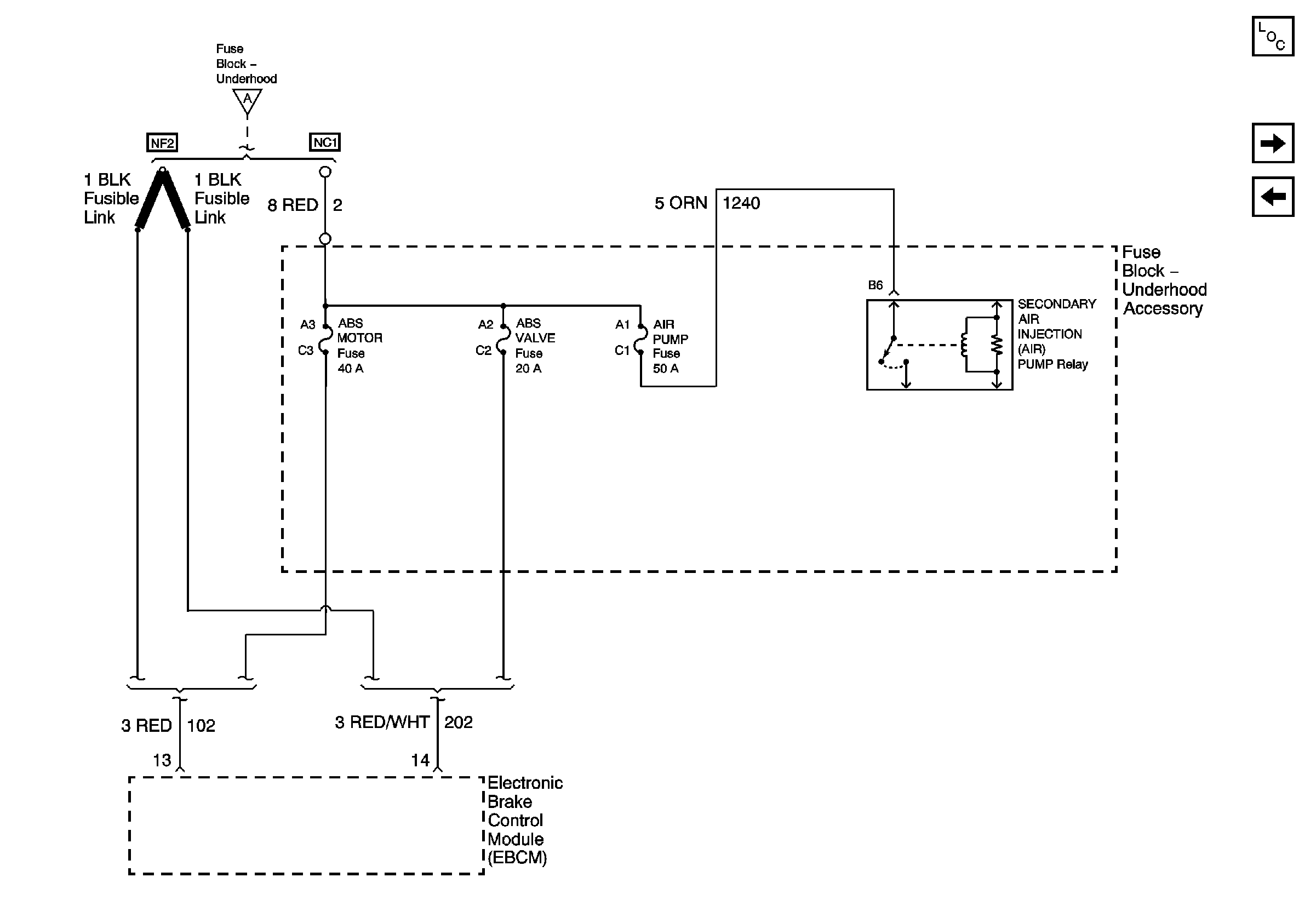
🢒 Fuse Block-Underhood Accessory
Fuse Block-Underhood Accessory
Fuse Block-Underhood Accessory
Master Electrical Component List
INADV POWER BUS/RAP, BCM, RADIO/HVAC/RFA CLUSTER/DATA LINK, RADIO AMP, and CIGAR LTR/AUX POWER/POWER DROP Fuses
Fuse Block-Underhood Bussing (2 of 2)
Fuse Block-Underhood Bussing (1 of 2)