GM Service Manual Online
For 1990-2009 cars only

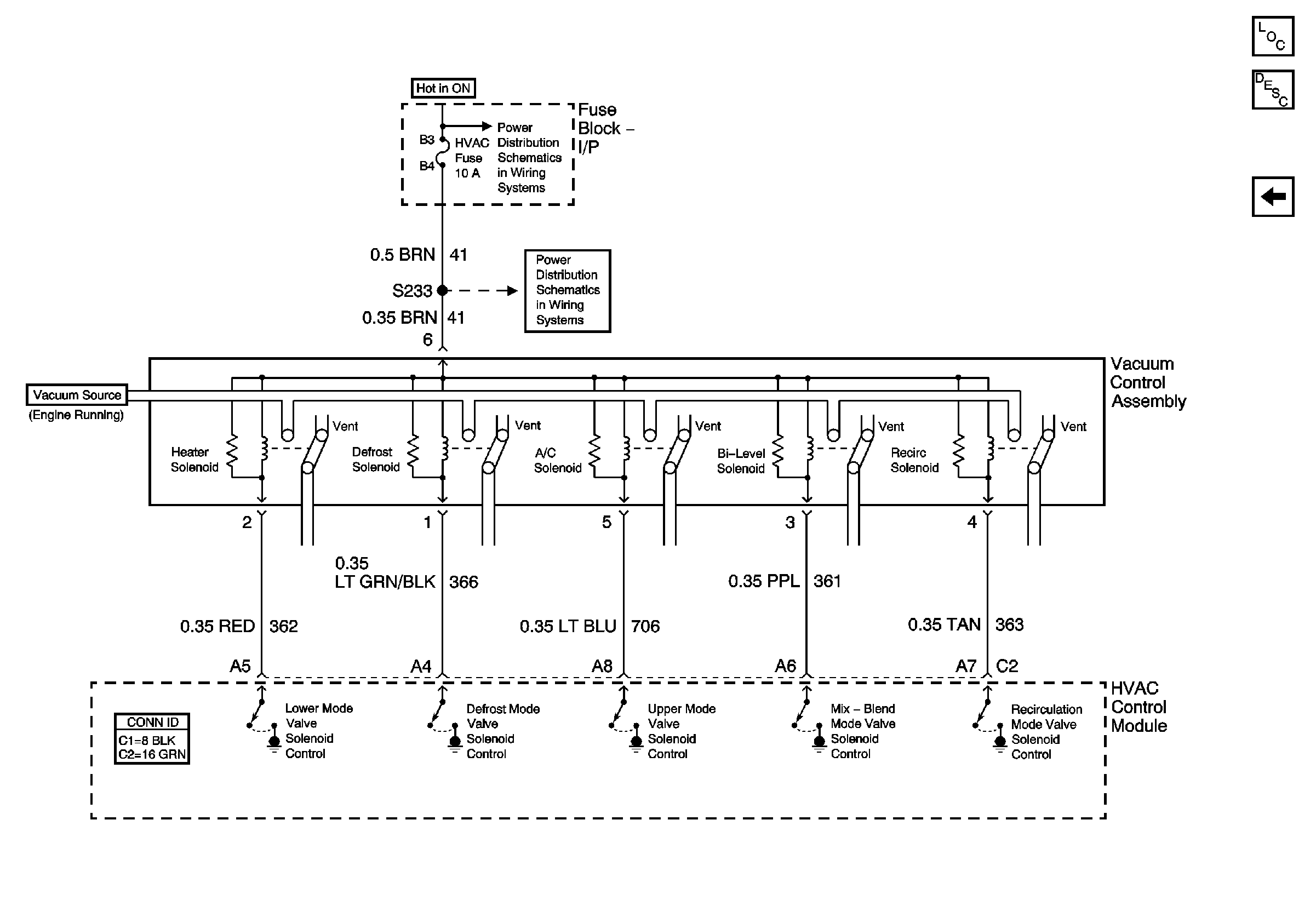
Air Delivery Controls

Air Delivery Controls


Object Number: 665658  Size: FS
Master Electrical Component List
Air Delivery Description and Operation
Temperature Controls
CRUISE SWITCH, LOW BLOWER, CRUISE, and HVAC Fuses
CRUISE SWITCH, LOW BLOWER, CRUISE, and HVAC Fuses