GM Service Manual Online
For 1990-2009 cars only
Makes
🢒
Oldsmobile
🢒
2002
🢒
Intrigue
🢒 Temperature Controls
Temperature Controls
Temperature Controls
Master Electrical Component List
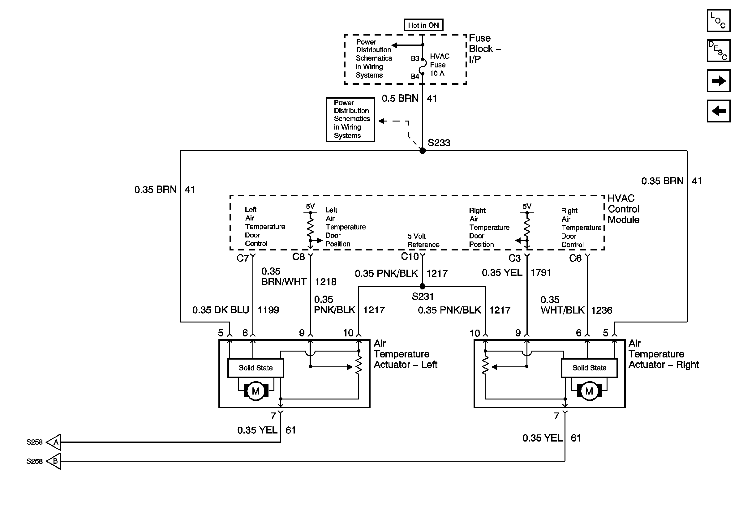
Air Temperature Description and Operation
Air Delivery Controls
Temperature, and Sunload Sensors
CRUISE SWITCH, LOW BLOWER, CRUISE, and HVAC Fuses
CRUISE SWITCH, LOW BLOWER, CRUISE, and HVAC Fuses
Temperature, and Sunload Sensors
Temperature, and Sunload Sensors