GM Service Manual Online
For 1990-2009 cars only
Makes
🢒
Oldsmobile
🢒
2002
🢒
Intrigue
🢒 Air Delivery Controls
Air Delivery Controls
Air Delivery Controls
Master Electrical Component List
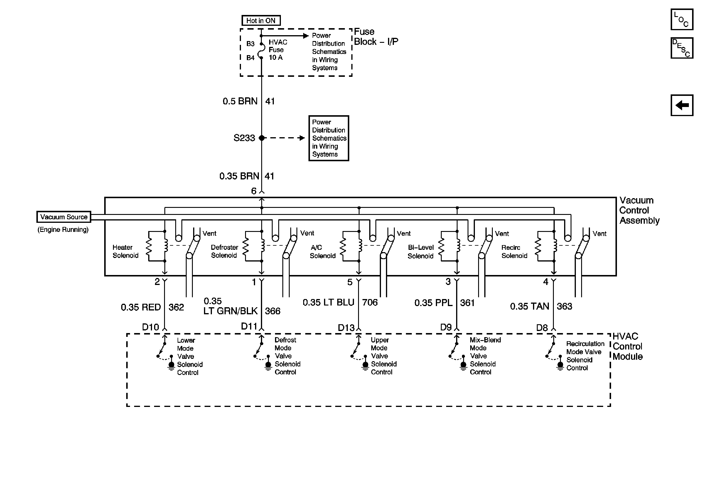
Air Delivery Description and Operation
Temperature Controls
CRUISE SWITCH, LOW BLOWER, CRUISE, and HVAC Fuses
CRUISE SWITCH, LOW BLOWER, CRUISE, and HVAC Fuses