GM Service Manual Online
For 1990-2009 cars only
Makes
🢒
Oldsmobile
🢒
2002
🢒
Intrigue
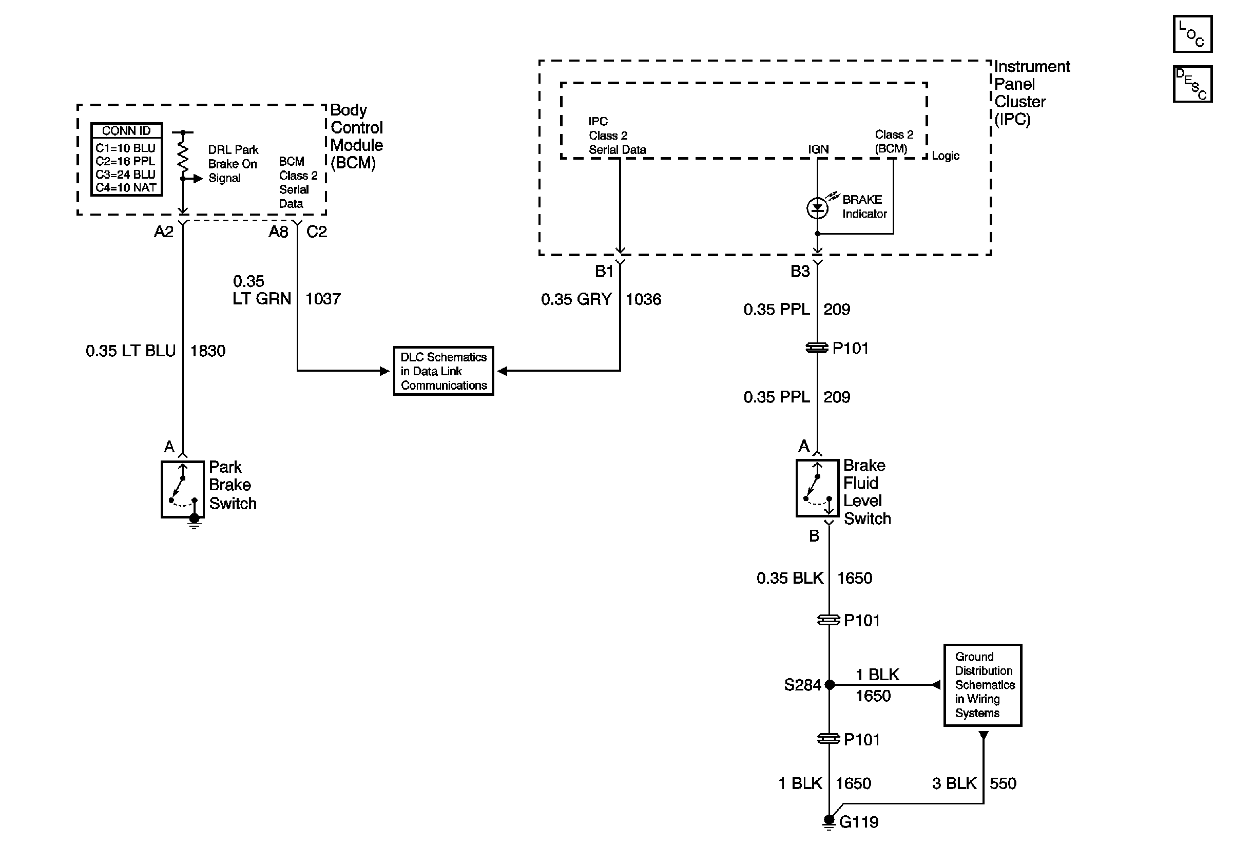
🢒 Park Brake On, and Brake Fulid Level Signals
Park Brake On, and Brake Fulid Level Signals
Master Electrical Component List
Brake Warning System Description and Operation
DLC, and Splice Pack
G113, G117, G119)