GM Service Manual Online
For 1990-2009 cars only
Makes
🢒
Oldsmobile
🢒
2002
🢒
Intrigue
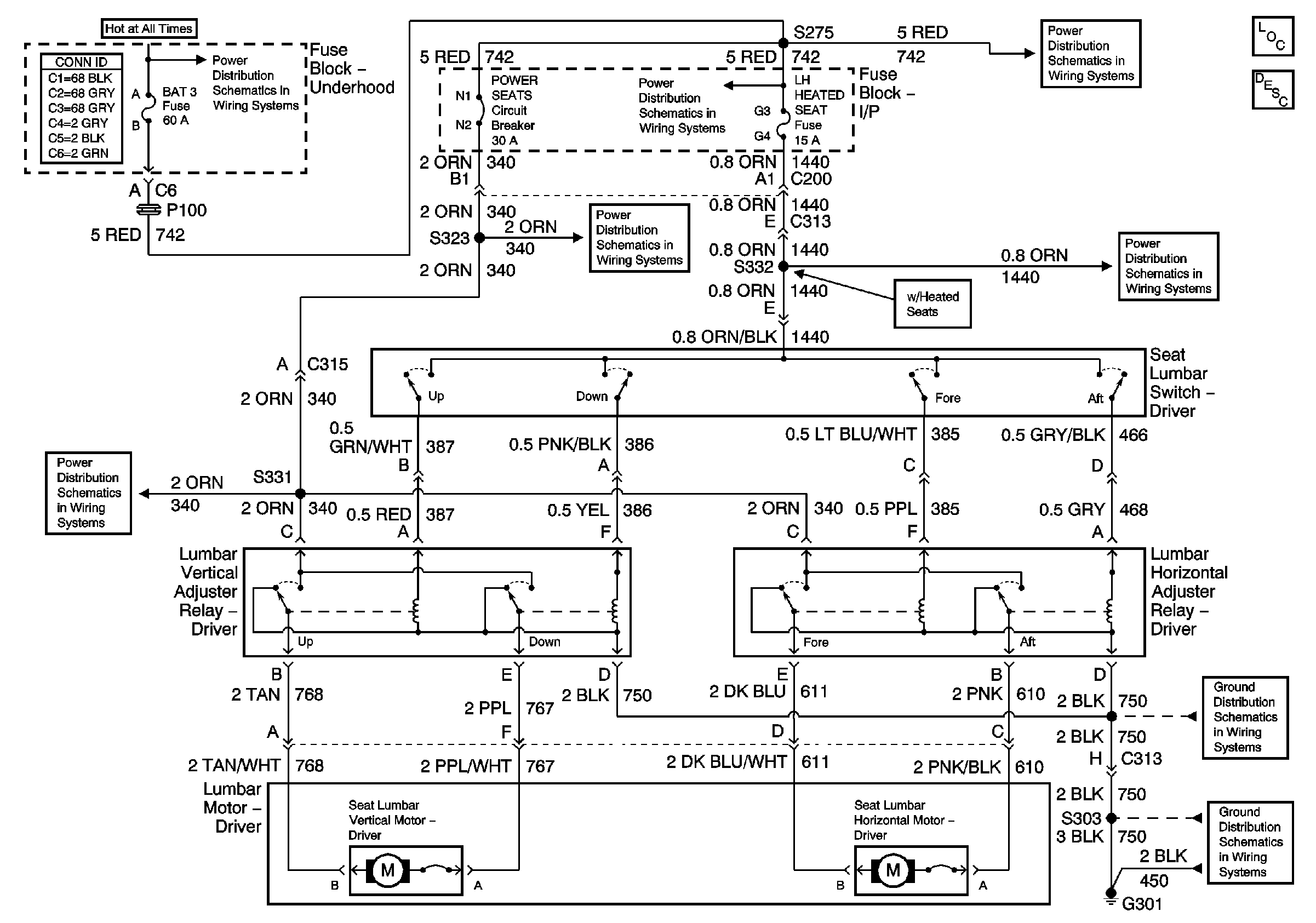
🢒 Power, Ground, Lumbar Switch, and Relays
Power, Ground, Lumbar Switch, and Relays
Master Electrical Component List
Lumbar Support Description and Operation
Fuse Block-Underhood Bussing (1 of 2)
ONSTAR, LH HEATED SEAT, RH HEATED SEAT Fuses, POWER SEATS Circuit Breaker, and REAR DEFOG Circuit Breaker
ONSTAR, LH HEATED SEAT, RH HEATED SEAT Fuses, POWER SEATS Circuit Breaker, and REAR DEFOG Circuit Breaker
ONSTAR, LH HEATED SEAT, RH HEATED SEAT Fuses, POWER SEATS Circuit Breaker, and REAR DEFOG Circuit Breaker
ONSTAR, LH HEATED SEAT, RH HEATED SEAT Fuses, POWER SEATS Circuit Breaker, and REAR DEFOG Circuit Breaker
ONSTAR, LH HEATED SEAT, RH HEATED SEAT Fuses, POWER SEATS Circuit Breaker, and REAR DEFOG Circuit Breaker
G301 (2 of 3)
G301 (1 of 3)