GM Service Manual Online
For 1990-2009 cars only

Radio Front Side Door Speaker Replacement Buick/Oldsmobile

Removal Procedure

  1. Remove the door trim panel. Refer to Front Side Door Trim Panel Replacement in Doors.
  2. Note the location of the speaker electrical connector.

  3. Object Number: 416915  Size: SH
  4. Disconnect the electrical connectors.
  5. Remove the fasteners.
  6. Remove the speaker.

Installation Procedure


    Object Number: 416915  Size: SH
  1. Install the speaker into the door with the electrical connector located as noted during removal.
  2. Notice: Use the correct fastener in the correct location. Replacement fasteners must be the correct part number for that application. Fasteners requiring replacement or fasteners requiring the use of thread locking compound or sealant are identified in the service procedure. Do not use paints, lubricants, or corrosion inhibitors on fasteners or fastener joint surfaces unless specified. These coatings affect fastener torque and joint clamping force and may damage the fastener. Use the correct tightening sequence and specifications when installing fasteners in order to avoid damage to parts and systems.

  3. Install the speaker fasteners.
  4. Tighten
    Tighten the fasteners to 1.4 N·m (12 lb in).

  5. Connect the electrical connectors.
  6. Install the door trim panel. Refer to Front Side Door Trim Panel Replacement in Doors.

Radio Front Side Door Speaker Replacement Pontiac

Removal Procedure

  1. Remove the door trim panel. Refer to Front Side Door Trim Panel Replacement in Doors.
  2. Lay the door trim panel on a clean protected surface.
  3. Carefully pull back the inner insulation on the door trim panel to expose the speaker.

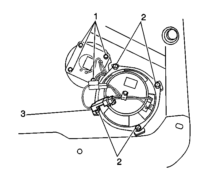
  4. Object Number: 469013  Size: SH
  5. Disconnect the electrical connector(s).
  6. Remove the fasteners (1, 2) from the speaker.
  7. Note the position of the speaker electrical connector(s).

  8. Remove the speaker(s).

Installation Procedure


    Object Number: 469013  Size: SH
  1. Align the speaker(s) to the door trim panel with the electrical connector(s) located as noted during removal.
  2. Notice: Use the correct fastener in the correct location. Replacement fasteners must be the correct part number for that application. Fasteners requiring replacement or fasteners requiring the use of thread locking compound or sealant are identified in the service procedure. Do not use paints, lubricants, or corrosion inhibitors on fasteners or fastener joint surfaces unless specified. These coatings affect fastener torque and joint clamping force and may damage the fastener. Use the correct tightening sequence and specifications when installing fasteners in order to avoid damage to parts and systems.

  3. Install the speaker fasteners (1, 2).
  4. Tighten
    Tighten the fasteners to 1.4 N·m (12 lb in).

  5. Connect the electrical connector(s).
  6. Refasten the inner door insulation.
  7. Install the door trim panel. Refer to Front Side Door Trim Panel Replacement in Doors.