GM Service Manual Online
For 1990-2009 cars only
Makes
🢒
Oldsmobile
🢒
1998
🢒
LSS
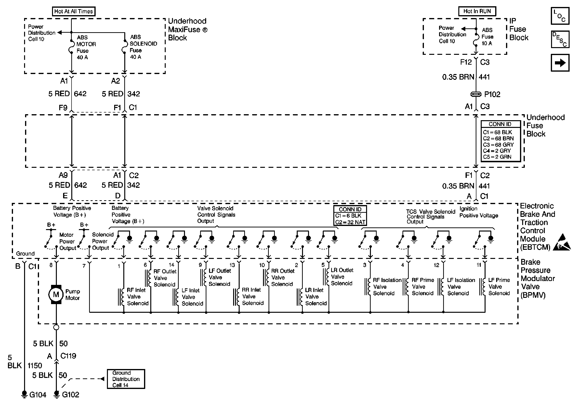
🢒 Cell 44: Power, Ground, EBCM/EBTCM, BPMV Motor and Solenoids
Cell 44: Power, Ground, EBCM/EBTCM, BPMV Motor and Solenoids
Cell 44: Power, Ground, EBCM/EBTCM, BPMV Motor and Solenoids
ABS Components
ABS/TCS System Description
Cell 44: Indicator and Stoplamp/BTSI Switch
Handling ESD Sensitive Parts Notice
Cell 10: IGN SEN, ABS, RR DEFOG and AUXOT LT Fuses
Cell 10: Battery Power Circuits to Fuse Blocks (1 of 2)
Cell 14: G100, G101, G102 and G103