GM Service Manual Online
For 1990-2009 cars only
Makes
🢒
Oldsmobile
🢒
1998
🢒
LSS
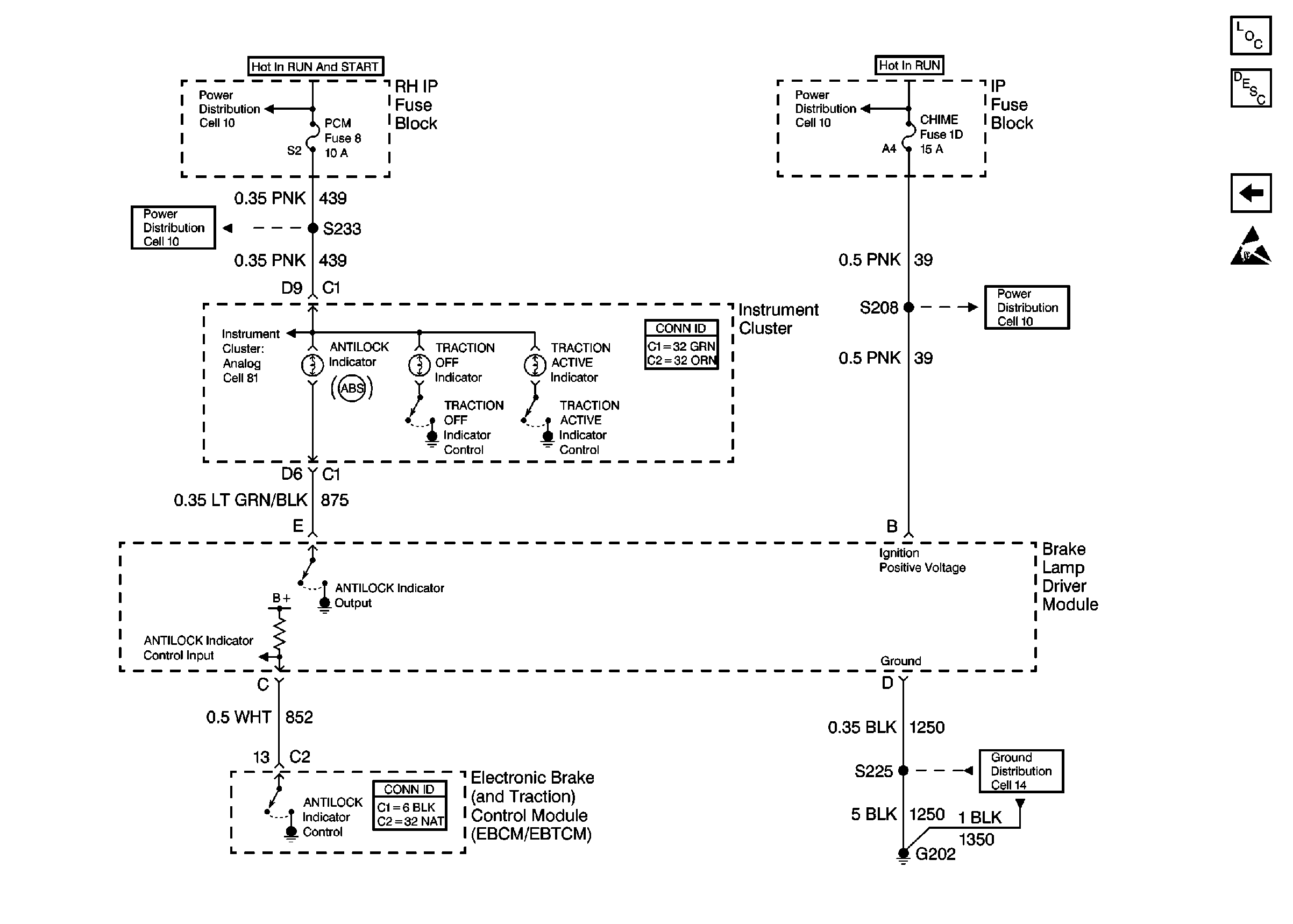
🢒 Cell 44: Oldsmobile Indicators
Cell 44: Oldsmobile Indicators
Cell 44: Oldsmobile Indicators
Cell 10: IGN SW Fuse (1 of 2)
Cell 10: PCM Fuse
Cell 10: CHIME Fuse
Cell 10: IGN SW Fuse (1 of 2)
Cell 14: G202
Cell 81: Oldsmobile with UH8
ABS Components
ABS/TCS System Description
Cell 44: Pontiac Indicators
Handling ESD Sensitive Parts Notice